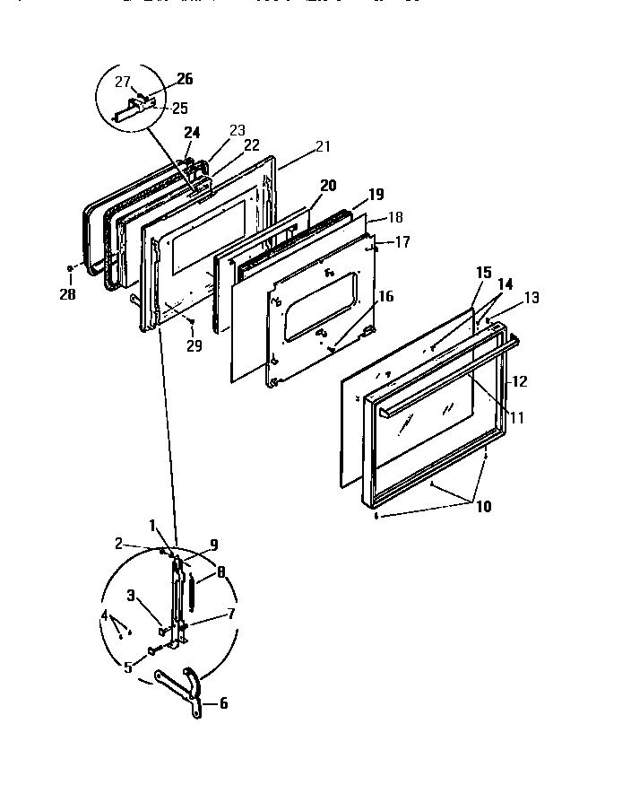
KF590HDD2 04 – DOOR