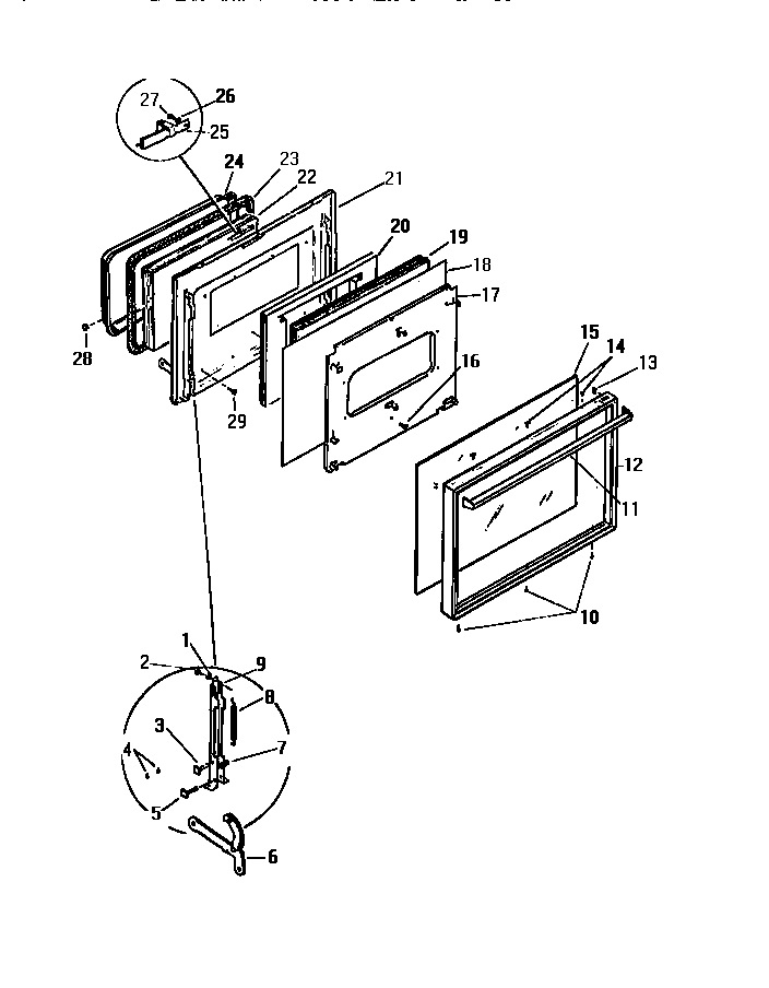
KF590HDW2 04 – DOOR