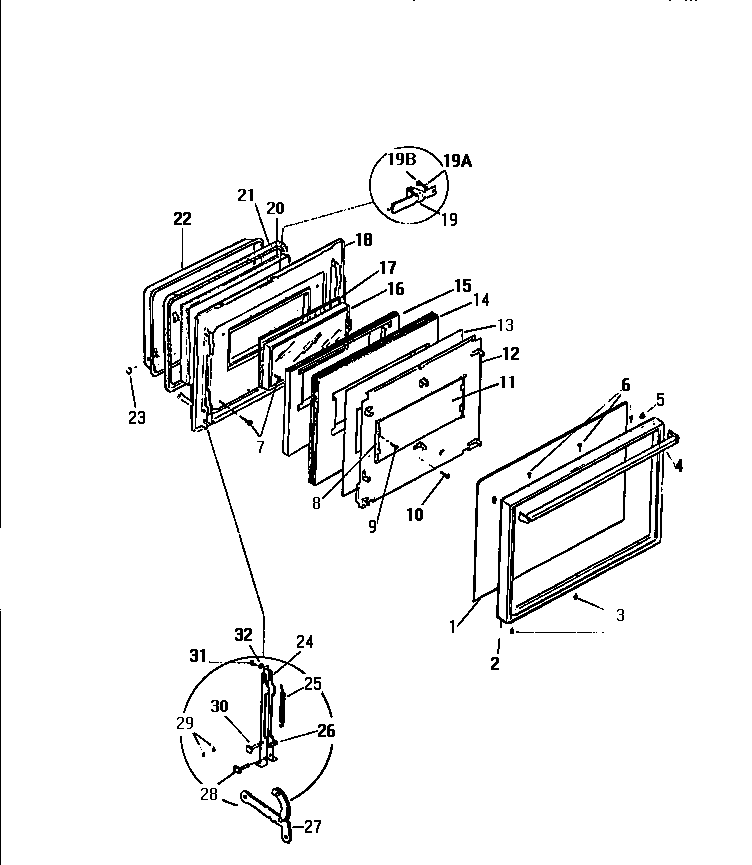
KF650GDD2 04 – DOOR