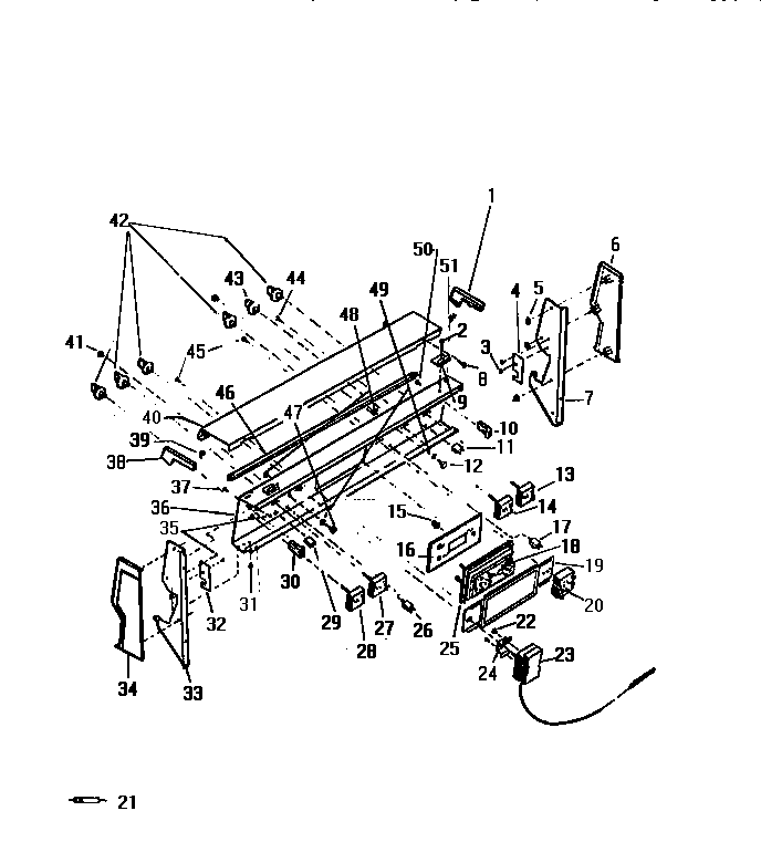
KF650GDD3 02 – BACKGUARD