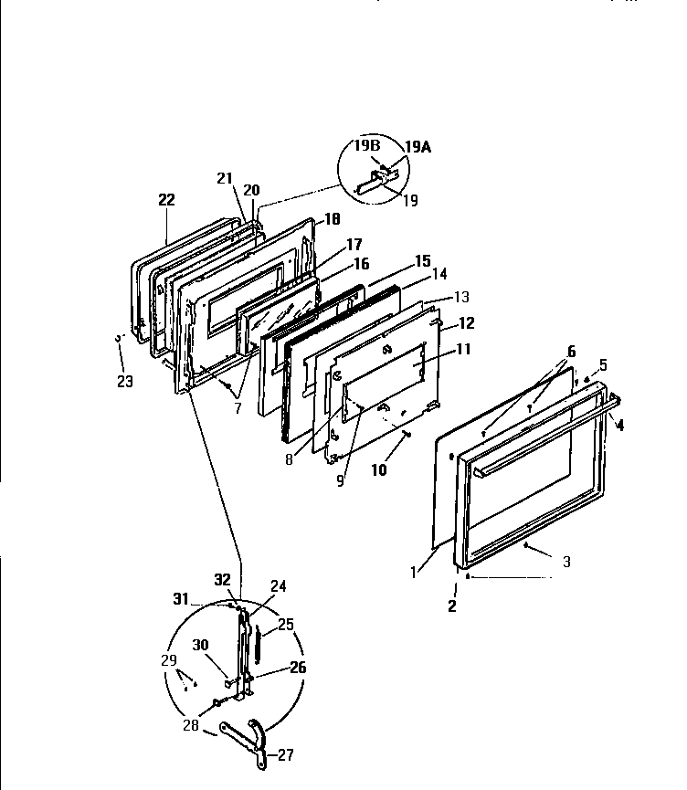
KF650GDD3 04 – DOOR