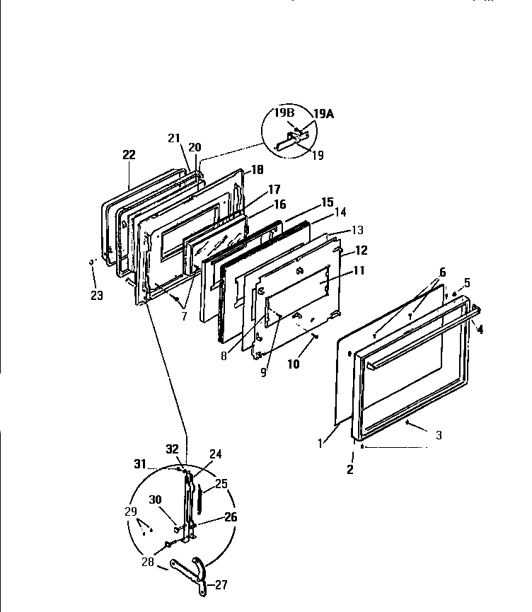
KF650GDF3 04 – DOOR