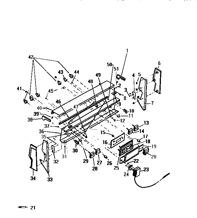
KF650GDH2 02 – BACKGUARD