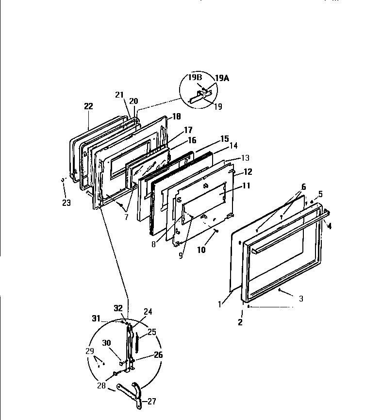
KF650GDH2 04 – DOOR