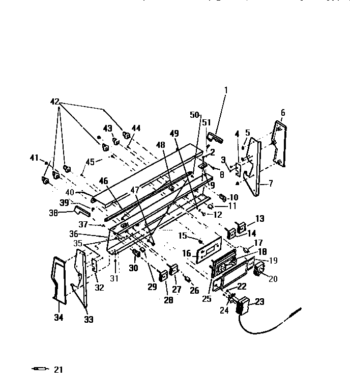
KF650GDV3 02 – BACKGUARD