| Hardware, Mounting |
| Conversion Kit Natural Gas To L.P. |
| Wire, Ground |
| Use & Care Guide |
| LITERATURE PARTS (Wiring Diagram) |
| Conversion Instructions |
| 28`` |
| 15`` |
| 4173634 Whirlpool Bushing |
| W10392007 Whirlpool Power Cord |
| Safer Cooking Tips |
| Screw |
| 8186533 Whirlpool Hardware |
| Nut, Tinnerman (2) |
| Installation Instructions |
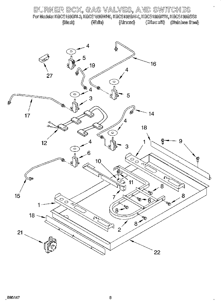
| 1 | W10203756 Whirlpool Support |
| 2 | Pipe, Manifold |
| 3 | Valve, Burner (Small (1)) |
| 4 | WP3188425 Whirlpool Seal Switch |
| 5 | Valve, Burner (Large (3)) |
| 6 | Valve, Burner (Silver) |
| 7 | Rail, Center |
| 8 | Bolt, Gas Valve |
| 9 | WP3177991 Whirlpool Screw |
| 10 | 3192491 Whirlpool Support Bracket |
| 11 | W10491985 Whirlpool Screw |
| 12 | Harness & Switches |
| 14 | 3191324 Whirlpool Oven Gas Tubing |
| 15 | Tubing, Burner (LF) |
| 16 | Tubing, Burner (RR) |
| 17 | Tubing, Gas Burner (LR) |
| 18 | 3191462 Whirlpool Oven Heat Shield |
| 19 | Tubing, Gas Burner (CR) |
| 21 | Regulator, Pressure |
| 22 | Burner Box |
| 27 | WPW10110486 Whirlpool Spark Module |