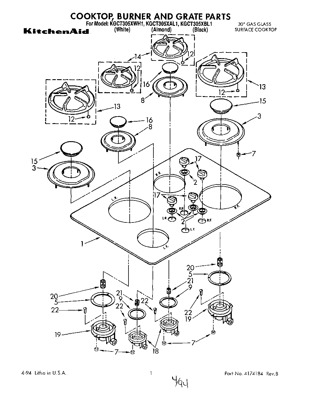
KGCT305XAL1 01 – SECTION