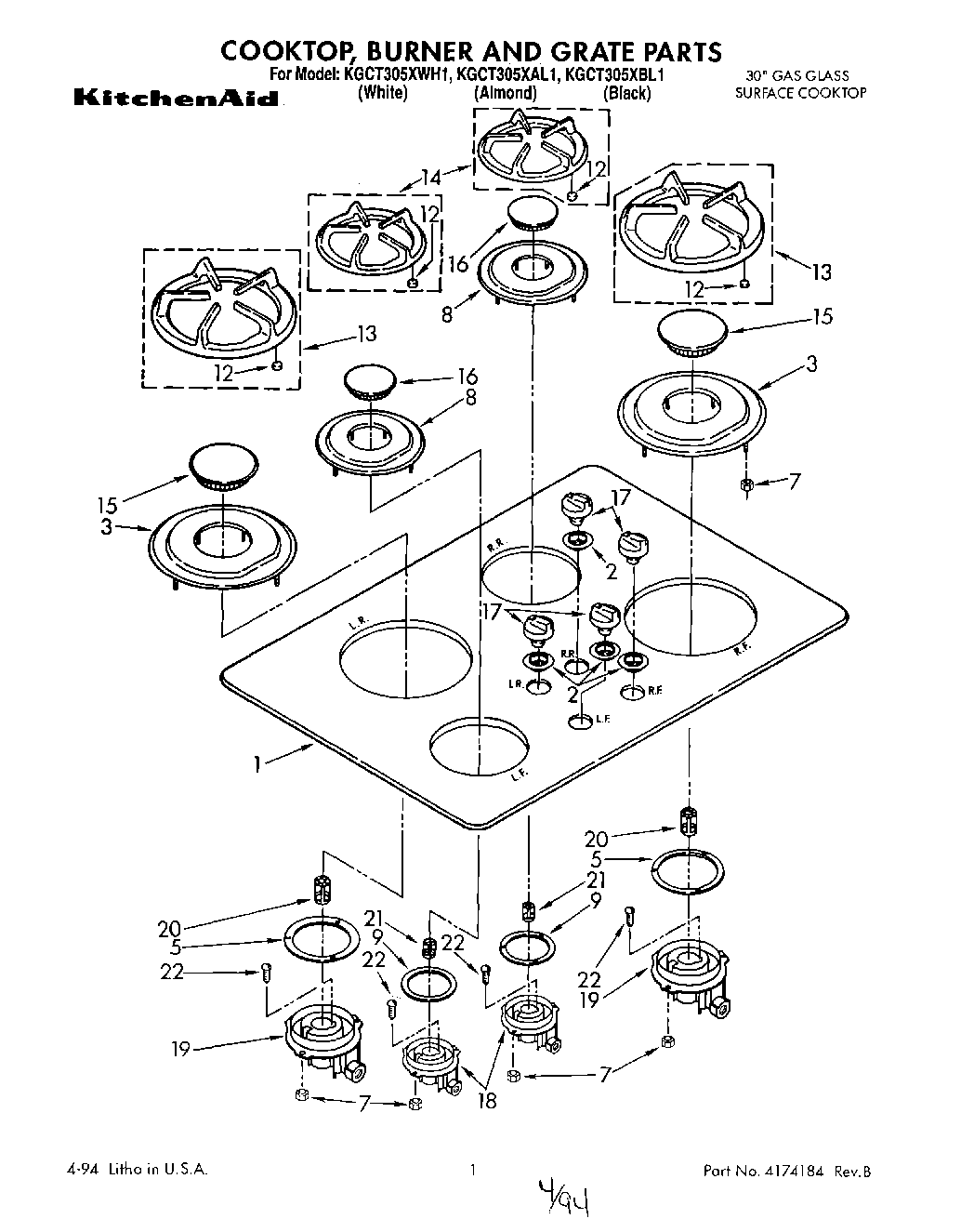
| 1 | Cooktop, Glass (Black Model) |
| 1 | Cooktop, Glass (White Model) |
| 1 | Cooktop, Glass (Almond Model) |
| 2 | W10854242 Whirlpool Grommet |
| 2 | WP3180081 Whirlpool Grommet |
| 2 | W10854241 Whirlpool Grommet |
| 3 | Bezel, Large (Shadow White (KGCT205YWH1)) |
| 3 | Bezel, Large (Dark Taupe (KGCT025YAL1)) |
| 3 | Bezel, Large (Black (KGCT025YBL1)) |
| 5 | Gasket, Burner (Large) |
| 7 | Nut (4) |
| 8 | Bezel, Small (Dark Taupe (KGCT025YAL1)) |
| 8 | Bezel, Small (Black (KGCT025YBL1)) |
| 8 | Bezel, Small (Shadow White (KGCT025YWH1)) |
| 9 | Gasket, Burner (Small) |
| 12 | Pad, Grate (Incls. 5 pads) |
| 13 | Grate, Large (RF & LR) (Black) |
| 13 | Grate, Large (RF & LR) (Includes No.12) (Shadow Grey (KGCT305XWH0)) |
| 13 | Grate, Large Burner (Dark Taupe (KGCT025YAL0)) |
| 14 | Grate (Small) (LF & RR) (Black) |
| 14 | Grate, Burner Small (Dark Taupe (KGCT025YAL0 |
| 14 | Grate (Small) L.F.& R.R. (Includes No.12) (Shadow Grey (KGCT305XWH0)) |
| 15 | WPL 3180084 |
| 15 | Cap, Large Burner (Black (KGCT025YBL1)) |
| 15 | Cap, Large Burner (Dark Taupe (KGCT025YAL0)) |
| 16 | Cap, Semi |
| 16 | Cap, Burner Small (Dark Taupe (KGCT025YAL0)) |
| 16 | Cap, Burner Small (Black (KGCT025YBL1)) |
| 17 | WP3181304 Whirlpool Knob Assembly |
| 17 | WP3181305 Whirlpool Knob |
| 17 | WP3181306 Whirlpool Knob |
| 18 | Sealed Gas Burner Kit (Small Burner (Includes Key No`s 7,8,9,10,11)) |
| 19 | Sealed Gas Burner Kit (Large Burner) |
| 20 | Shutter, Air (Large Shutter) |
| 21 | Shutter, Air (Small Shutter) |
| 22 | Screw, Burner |