| Wiring Diagram |
| Use & Care Guide |
| Installation Instructions |
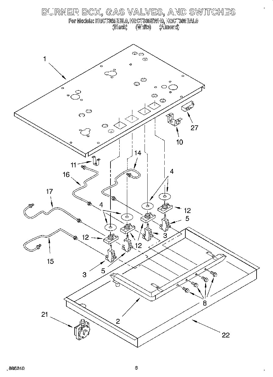
| 1 | Backer Plate |
| 2 | WP3177991 Whirlpool Screw |
| 2 | Pipe, Manifold |
| 3 | Valve, Gas Burner (LF, RR, & CR) |
| 4 | WP3188425 Whirlpool Seal Switch |
| 5 | Valve, Gas Burner (RF & LR) |
| 8 | Bolt (Gas Valve) |
| 10 | Bracket, Burner (4) |
| 10 | Screw |
| 11 | Screw (2) |
| 11 | Bracket, Burner Box (9) |
| 12 | WP3190779 Whirlpool Igniter Switch |
| 14 | Tubing, Large Gas Burner (RF) |
| 15 | Tubing, Small Gas Burner (LF) |
| 16 | Tubing, Large Gas Gas Burner (RR) |
| 17 | Tubing, Small Gas Burner (LR) |
| 21 | Regulator, Pressure |
| 22 | Burner Box |
| 27 | Screw |
| 27 | WPW10110491 Whirlpool Spark Module |