KGST307HWH4 05 – OVEN CHASSISadmin2025-04-26T11:32:28+00:00KGST307HWH4 05 – OVEN CHASSIS
Products
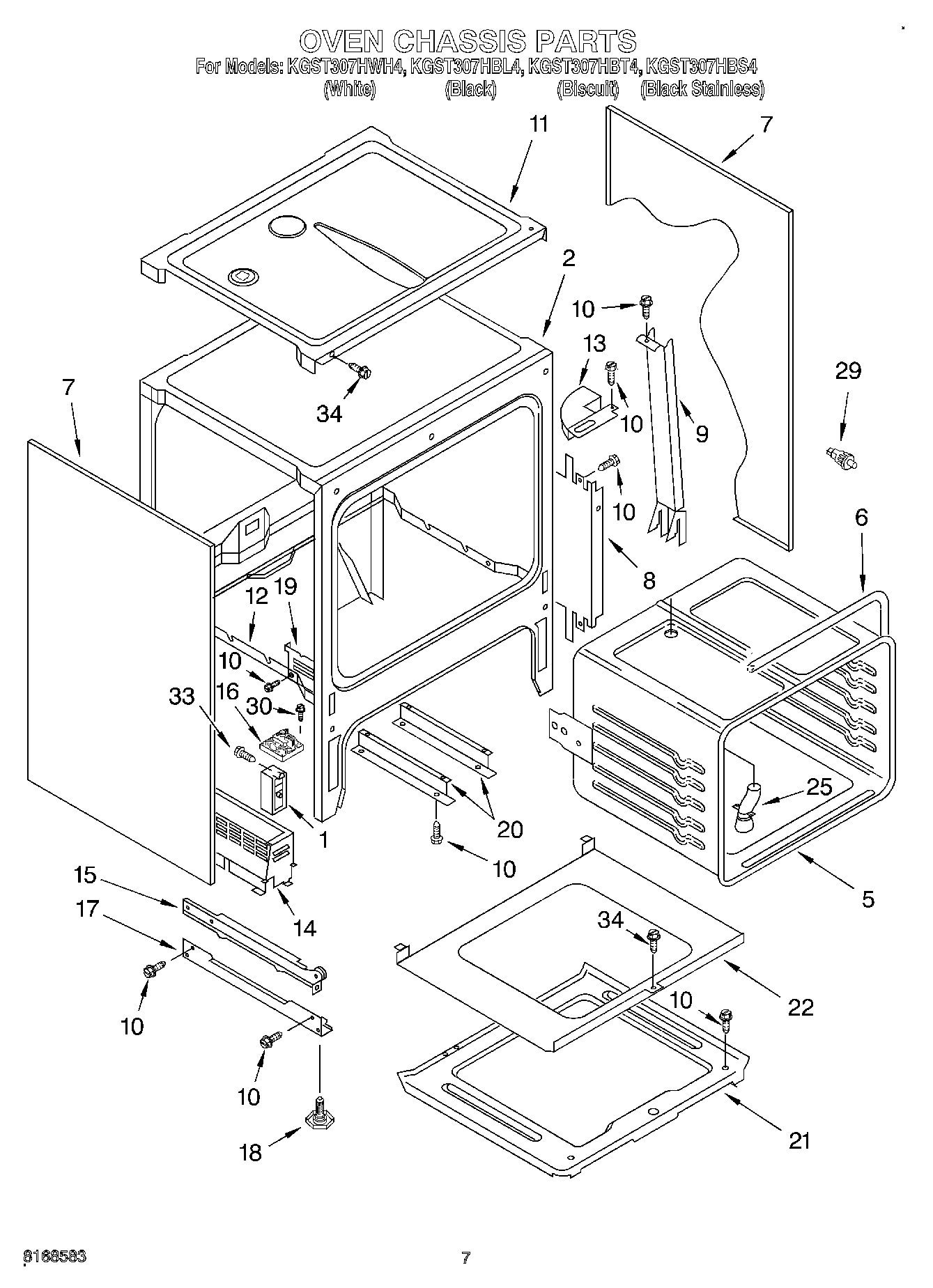
| Position | Product |
|---|
| 1 | WP8053421 Whirlpool Oven Spark Module |
| 2 | Chassis, Front |
| 5 | Oven Liner |
| 6 | Gasket, Oven |
| 7 | Body, Side (Black) |
| 7 | Body, Side (Biscuit) |
| 7 | Body, Side (White) |
| 8 | Shield, Insulation |
| 9 | Duct, Side Fan |
| 10 | WP4159387 Whirlpool Compactor Screw |
| 11 | Burner Box |
| 12 | Retainer, Insulation |
| 13 | Duct, Top |
| 14 | Support, Fan |
| 15 | Rail, Drawer (Right) |
| 15 | Drawer Rail, Left |
| 16 | Motor, Fan |
| 17 | Bottom Rail (2) |
| 18 | WPW10058460 Whirlpool Appliance Levelling Leg |
| 19 | Hinge, Receiver (2) |
| 20 | Support Rail |
| 21 | Shield |
| 22 | Plate, Reflector |
| 25 | Vent Tube |
| 29 | Switch, Door |
| 30 | Screw, (3) No.8 x 1`` |
| 33 | Screw |
| 34 | Screw, 10-16 x 1 |