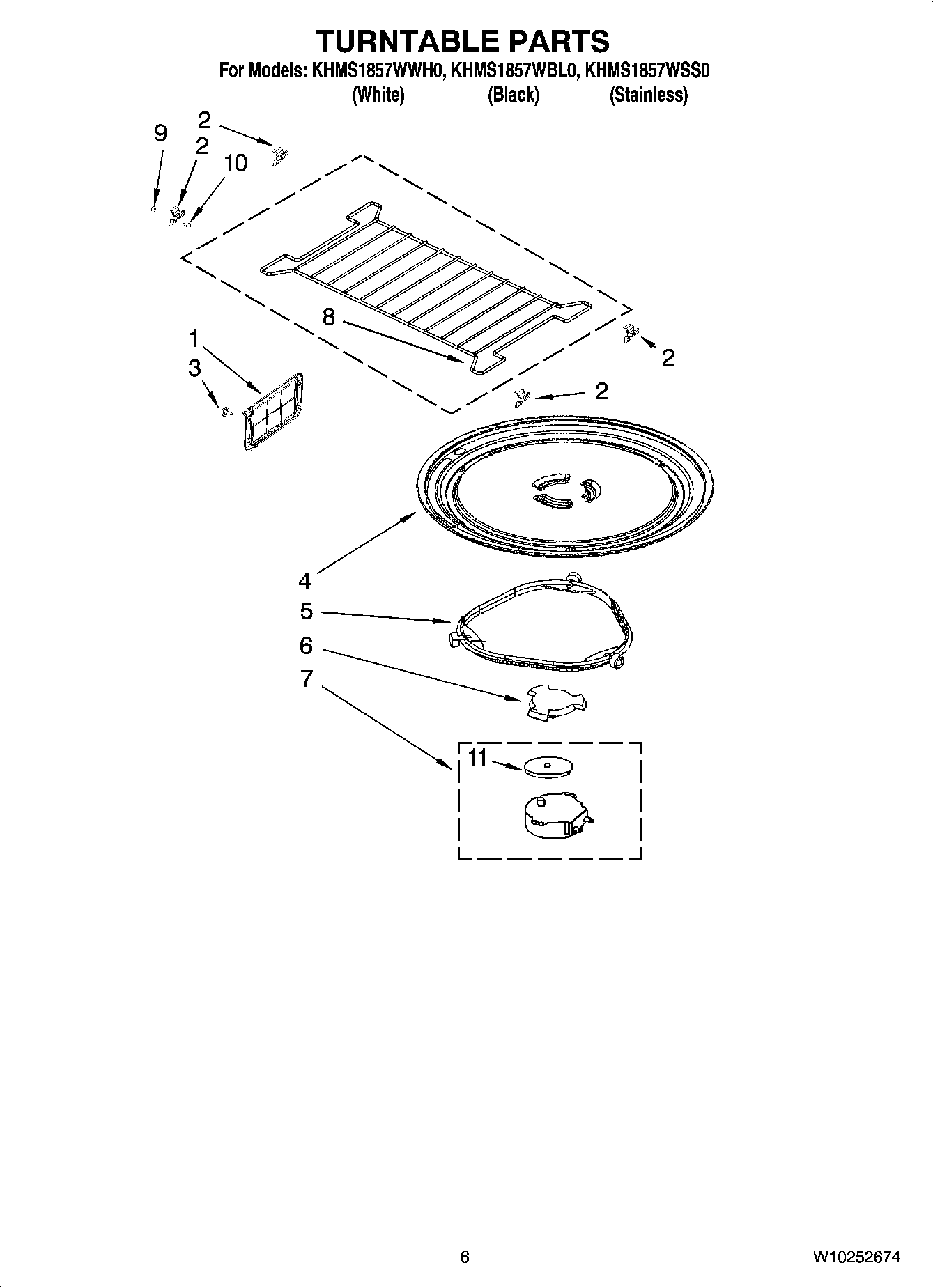
KHMS1857WBL0 05 – TURNTABLE PARTSadmin2025-04-26T11:01:18+00:00KHMS1857WBL0 05 – TURNTABLE PARTS ProductsPositionProduct1COVER, MICA2W10840759 Whirlpool Microwave Support3W11319886 Whirlpool Microwave Stir Rivet44393799 Whirlpool Microwave Glass Tray5W11252182 Whirlpool Glass Tray Support6W10435116 Whirlpool Microwave Turntable Roller Drive Coupling7W11661547 Whirlpool Turntable Motor8W10249618 Whirlpool Microwave Meal Rack9W10107790 Whirlpool Microwave Washer10SCREW118184109 Whirlpool Microwave Spacer