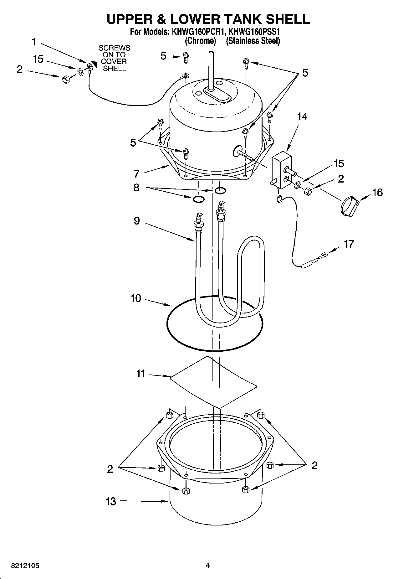
KHWG160PSS1 02 – UPPER & LOWER TANK SHELLadmin2025-04-26T11:58:00+00:00KHWG160PSS1 02 – UPPER & LOWER TANK SHELL ProductsPositionProduct1Ground Wire2Nut, Mounting5WPW10068250 Whirlpool Dishwasher Screw7Shell, Tank Upper8``O``, Ring9Element, Heating (Includes item No.6)10O-Ring11Deflector13Shell, Tank Lower14THERMOSTAT154159493 Whirlpool Lockwasher16Knob, Thermostat17Fuse, Thermal