| Repair Parts List |
| Use & Care Guide and Installation Instructions |
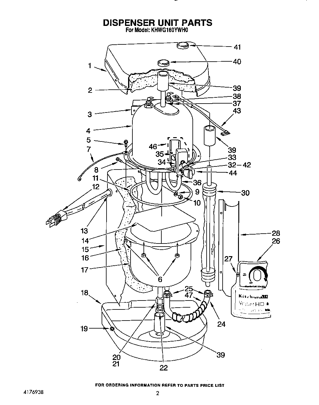
| 1 | Cap, Top |
| 2 | Upper Insulation |
| 3 | Bracket, Mounting |
| 4 | Upper Tank & Tube |
| 5 | WPW10068250 Whirlpool Dishwasher Screw |
| 7 | Ground Wire |
| 8 | WP3400814 Whirlpool Screw |
| 11 | O-Ring |
| 12 | Cord & Plug |
| 13 | Strain Relief |
| 14 | Deflector |
| 15 | Shell |
| 16 | Insulation Tank |
| 17 | Lower Tank |
| 18 | Cap, Bottom |
| 19 | W11245710 Whirlpool Refrigerator Screw |
| 20 | Nut, Tube Fitting (3/8``) |
| 21 | Sleeve, Tube Fitting (3/8``) |
| 22 | Plug, Drain |
| 24 | Hose, Clear |
| 25 | Clamp, Hose |
| 26 | Cover, Front |
| 27 | W10853069 Whirlpool Screw |
| 28 | Cover, Aspirator |
| 30 | Displacer |
| 32 | Nut, Mounting |
| 33 | Bushing, Thermostat |
| 34 | Thermostat |
| 35 | Cover, Dust (Thermostat) |
| 36 | Heater Element (Includes Illus. 38) |
| 37 | ``O``, Ring |
| 38 | Nut, Heating Element |
| 39 | Spacer (3) |
| 40 | Bushing, Molded |
| 41 | Molded Bushing |
| 42 | 4159493 Whirlpool Lockwasher |
| 43 | Fuse, Thermal |
| 44 | Knob, Thermostat |
| 46 | Knob, Thermostat |
| 47 | Upper Tank (Includes Illus. 4 & 36) |
| 47 | Spring, Hose (Anti-Kink) |