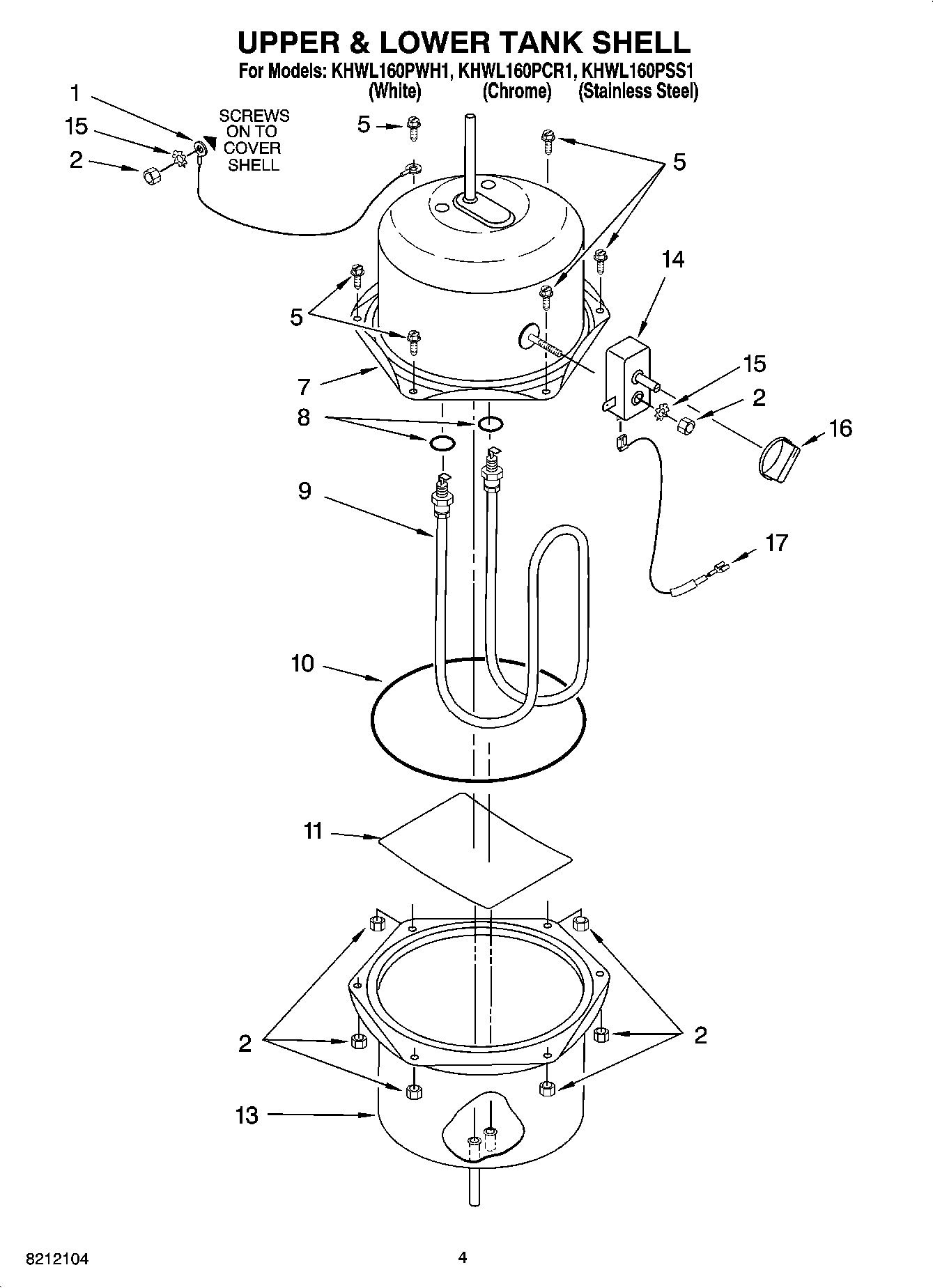
KHWL160PCR1 02 – UPPER & LOWER TANK SHELL