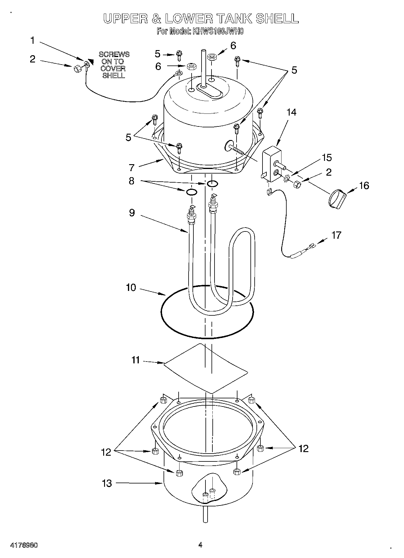
KHWS160JER0 03 – UPPER AND LOWER TANK SHELL