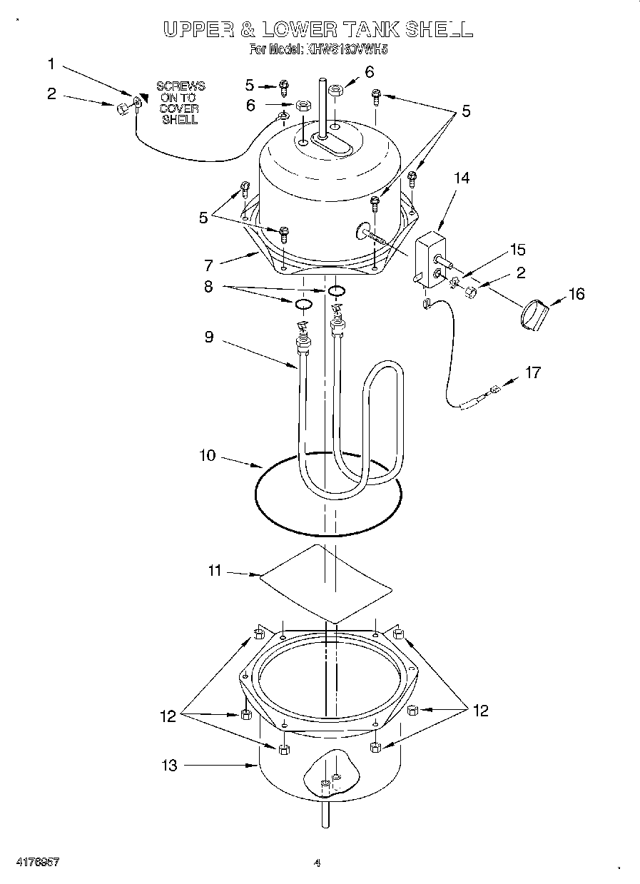
KHWS160VCR5 03 – UPPER AND LOWER TANK SHELLadmin2025-04-26T11:58:41+00:00KHWS160VCR5 03 – UPPER AND LOWER TANK SHELL ProductsPositionProduct1Ground Wire5WPW10068250 Whirlpool Dishwasher Screw6Nut, Heating Element7Shell, Tank Upper8``O``, Ring9Element, Heating (Includes item No.6)10O-Ring11Deflector12Nut, Mounting13Shell, Tank Lower14Thermostat154159493 Whirlpool Lockwasher16Knob, Thermostat17Fuse, Thermal