| WPL LIT4360363 |
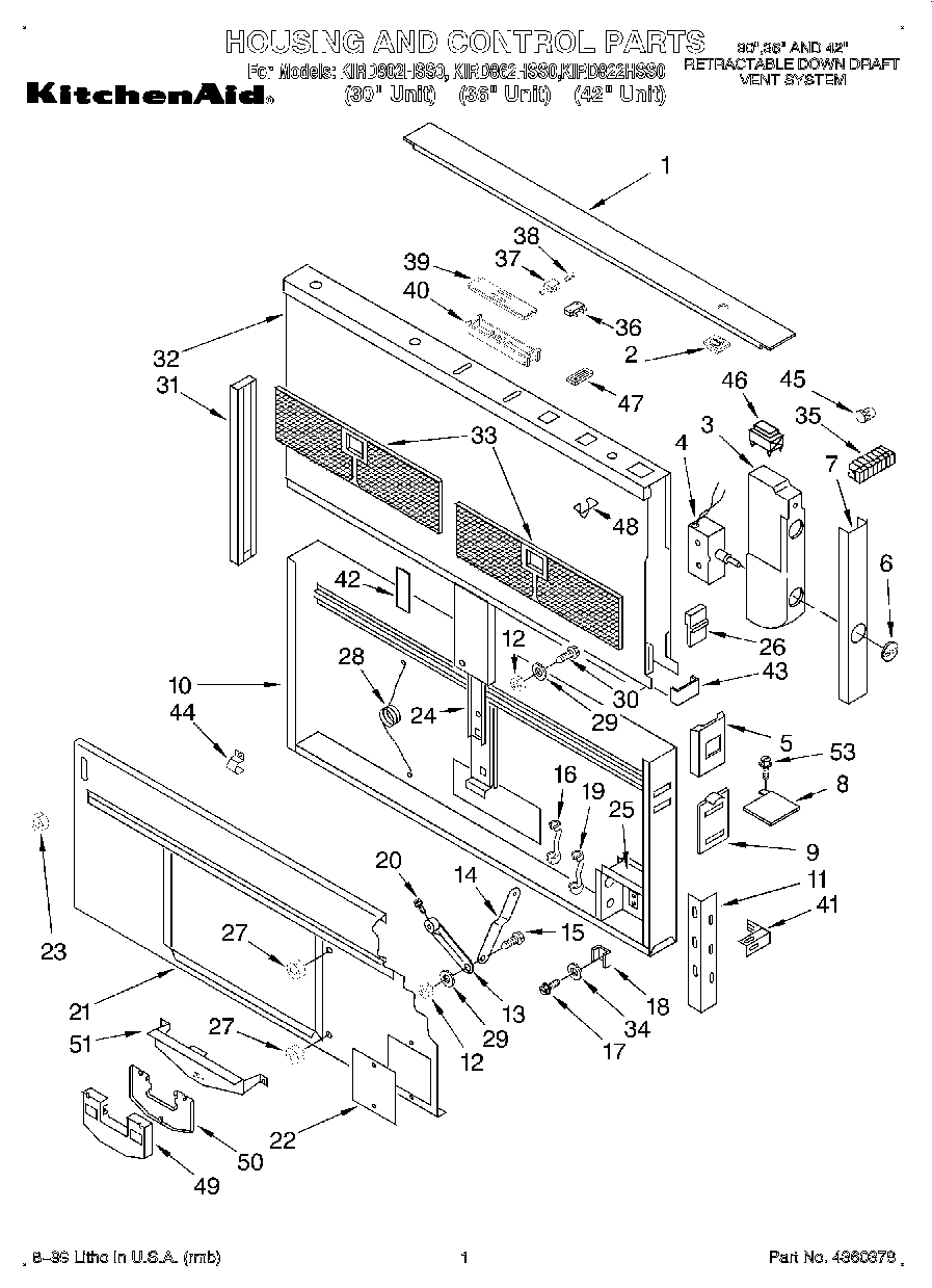
| 1 | Cover, Controls (Top) (KIRD861) |
| 1 | Cover, Controls (Top) (KIRD801) |
| 1 | Cover, Controls (Top) (KIRD821) |
| 2 | Button, Push |
| 3 | Housing, Switch |
| 4 | Switch, Fan |
| 5 | Bracket, Support (Right Hand) |
| 5 | Bracket, Support (Left Hand) |
| 6 | Knob |
| 7 | Panel, Control |
| 8 | End Cap (Right) |
| 8 | End Cap (Left) |
| 9 | Plate, Support (Upper) (2) |
| 10 | Housing, (Not Serviceable) |
| 11 | Bracket, Support (Lower L.H.) |
| 11 | Bracket, Support (Lower R.H.) |
| 12 | Nut |
| 13 | Arm, Gear Motor |
| 14 | Arm, Cavity |
| 15 | Bolt |
| 16 | Relief, Strain |
| 17 | Screw |
| 18 | Guide, Ground |
| 19 | Strain Relief |
| 20 | Screw, Set |
| 21 | Cover, Housing (Not Serviceable) |
| 22 | Cover, Wiring Box |
| 23 | Nut In Guide (2) |
| 24 | Guide, Housing (Not Serviceable) |
| 25 | Box, Wiring |
| 26 | Clamp |
| 27 | WP776338 Whirlpool Compactor Nut |
| 28 | Spring |
| 29 | 98007193 Whirlpool Oven Washer |
| 30 | Bolt |
| 31 | Trim, R.H. |
| 32 | Cavity (Not Serviceable) |
| 33 | WPW10396091 Whirlpool Grease Filter |
| 33 | WPW10381779 Whirlpool Grease Filter |
| 34 | Washer |
| 35 | Terminal |
| 37 | W10235643 Whirlpool Switch |
| 41 | Support (R.H.) |
| 41 | Support (L.H.) |
| 42 | Guide, Housing (Back) |
| 43 | Spacer, Cavity (2) |
| 44 | Clamp, Wiring |
| 45 | Wire Nut |
| 46 | Switch |
| 47 | Connector (3) |
| 48 | Spring (3) |
| 49 | Box, Microswitch |
| 50 | Cover, Box |
| 51 | Bracket, Motor Gear |
| 53 | Screw, En |
| 53 | Installation Kit |
| 53 | WPL 814380 |