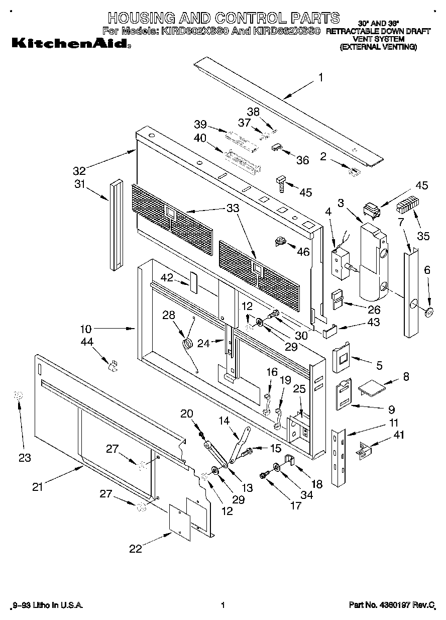
KIRD862XSS0 01 – SECTION