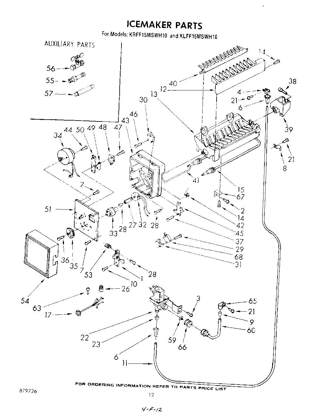
KLFF15MSWH10 07 – ICE MAKERadmin2025-04-26T11:59:11+00:00KLFF15MSWH10 07 – ICE MAKER
Products
| Position | Product |
|---|
| 1 | Lever & Plate Assembly |
| 2 | Screw, 10-12 x 3/8 |
| 3 | WPW10141625 Whirlpool Refrigerator Screw Assembly |
| 4 | WP488878 Whirlpool Refrigerator Tube Clamp |
| 6 | 4387491 Whirlpool Refrigerator Insert |
| 7 | WP488787 Whirlpool Refrigerator Screw |
| 8 | Clamp, Water Line (2) |
| 9 | WP2158826 Whirlpool Refrigerator Dampener |
| 10 | Screw (Use W/Motor 627106) |
| 11 | W10823511 Whirlpool Refrigerator Water Tube |
| 12 | Stripper, Ice |
| 13 | Mold & Heater Assembly (Includes Illus. 15) |
| 14 | WP489128 Whirlpool Refrigerator Screw |
| 15 | Heater, Mold |
| 17 | Wire Harness |
| 21 | WP965173 Whirlpool Dishwasher Screw |
| 22 | 4318047 Whirlpool Water Valve |
| 23 | WP627018 Whirlpool Refrigerator Nut |
| 26 | Wire Connector |
| 27 | Clamp, Thermostat |
| 28 | Screw, 8-32 x 1 |
| 30 | Switch, S.P.D.T. (2) |
| 31 | Spacer, Switch (2) |
| 32 | Thermostat |
| 33 | Cam |
| 34 | Motor |
| 35 | Gear |
| 36 | Screw |
| 37 | Screw, Shoulder |
| 38 | Tube, Water Inlet |
| 39 | Beraing & Inlet |
| 40 | Ejector |
| 41 | Arm, Shut-Off |
| 42 | Spring, Shut-Off Arm |
| 43 | Support |
| 44 | Screw, 4-40 x 1 |
| 45 | Lever, Arm |
| 46 | Screw, 4-24 x 3/4 |
| 47 | Screw |
| 48 | Switch, S.P.S.T. |
| 49 | Insulator |
| 50 | Plate, Valve Switch |
| 51 | Plate, Mounting |
| 53 | Spring |
| 54 | Cover |
| 55 | Union, 1/4`` x 3/16`` |
| 56 | Valve, Shut-Off |
| 57 | Filter Kit |
| 59 | WP16123 Whirlpool Washer |
| 60 | Tube, Inlet Valve |
| 63 | Screw, Ground |
| 65 | Clamp Tube |
| 66 | Nut, Valve |
| 67 | WP2256087 Whirlpool Refrigerator Bracket |
| 68 | Switch, S.P.D.T. |