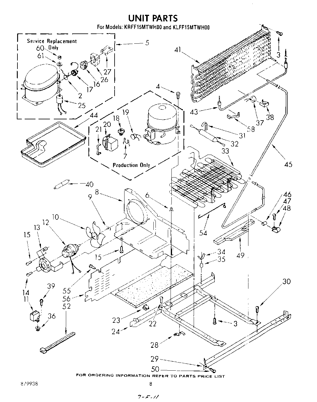
KLFF15MTAL00 05 – UNIT