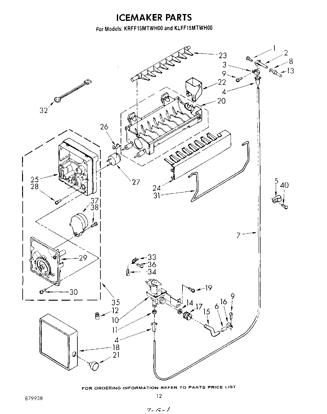
KLFF15MTWH00 07 – ICE MAKERadmin2025-04-26T11:58:30+00:00KLFF15MTWH00 07 – ICE MAKER ProductsPositionProduct2WP2196157 Whirlpool Fill Tube3WP488878 Whirlpool Refrigerator Tube Clamp44387491 Whirlpool Refrigerator Insert5Clamp, Water Line (2)6WP2158826 Whirlpool Refrigerator Dampener7W10823511 Whirlpool Refrigerator Water Tube8WP1106508 Whirlpool Refrigerator Gasket9WP965173 Whirlpool Dishwasher Screw104318047 Whirlpool Water Valve11WP627018 Whirlpool Refrigerator Nut12Wire Connector13Tube, Water Inlet14WP16123 Whirlpool Washer15Tube, Inlet Valve16Clamp Tube17Nut, Valve18WPW10289690 Whirlpool Ice Maker Cover19WPW10141625 Whirlpool Refrigerator Screw Assembly20WPW10190929 Whirlpool Refrigerator Ice Maker Mold21Knob22WP628356 Whirlpool Refrigerator Fill Cup23WP627843 Whirlpool Refrigerator Ejector Arm24WP2182124 Whirlpool Refrigerator Stripper Arm25WP2195914 Whirlpool Refrigerator Ice Maker Housing26WP2315522 Whirlpool Refrigerator Clip27WP627985 Whirlpool Icemaker Cycling Thermostat28Screw, 10-32 x 49/6430WP681249 Whirlpool Screw Assembly31WP627792 Whirlpool Refrigerator Shut Off Arm32WP628172 Whirlpool Refrigerator Wire Harness33WP2256087 Whirlpool Refrigerator Bracket34WP489128 Whirlpool Refrigerator Screw35W10190935 Whirlpool Refrigerator Icemaker Motor Module Assembly36SCREW38489136 Whirlpool Refrigerator Screw40WP489069 Whirlpool Compactor Screw