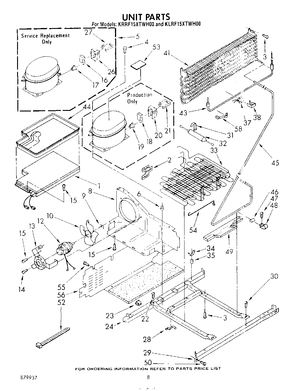
KLRF15XTWH00 05 – UNIT