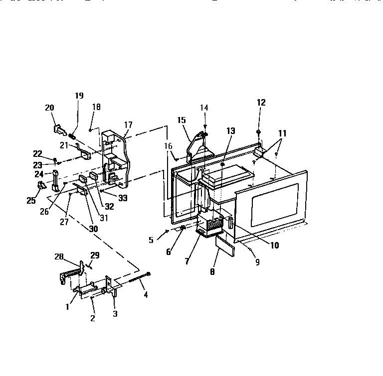
KM165HXM 03 – LOCK MECHANISMadmin2025-04-26T10:59:10+00:00KM165HXM 03 – LOCK MECHANISM ProductsPositionProduct1WCI Q325464593WCI Q325405864WCI Q325464085WCI Q325978046WCI Q325023617WCI Q325120438WCI Q3258018410WCI Q3258018211WCI Q3259789512WCI Q3259795213WCI Q3259701915WCI Q3255719916WCI Q3259788317WCI Q3254056119WCI Q3254502520WCI Q3254055821WCI Q3250236722WCI Q3254536324WCI Q3250233125WCI Q3250238526WCI Q3259710227WCI Q3254781528WCI Q3254646329WCI Q3254536130WCI Q3250236531WCI Q3250237032WCI Q3250236833WCI Q32547825