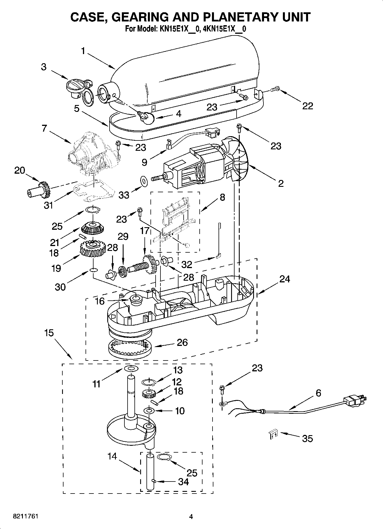
KN15E1XCM0 02 – CASE, GEARING AND PLANETARY UNITadmin2025-04-26T12:27:54+00:00KN15E1XCM0 02 – CASE, GEARING AND PLANETARY UNIT ProductsPositionProduct1Gearcase Motor Housing2WPW10247536 Whirlpool Motor3W11401152 Whirlpool Hub Cap4WP9709194 Whirlpool Black Thumb Screw4WP9709196 Whirlpool Screw5Band, Trim6Power Cord (Black)6Power Cord78212396 Whirlpool Housing9WP9706648 Whirlpool Speed Control10WP9706090 Whirlpool Washer11W11084660 Whirlpool Washer12W11133646 Whirlpool Gear13WP9703438 Whirlpool Snap Retaining Ring14WP9708191 Whirlpool Agitator Shaft15Planetary Assembly16WP16897 Whirlpool Bearing17WP9709231 Whirlpool Gear Assembly18WP9707223 Whirlpool Dowel Pin19GEAR21W11192795 Whirlpool Gear22W10853069 Whirlpool Screw23WP3400814 Whirlpool Screw24Lower Gear Case25WP9703680 Whirlpool Retainer Ring26W11181966 Whirlpool Gear28WPW10170080 Whirlpool Bearing Assembly28WPW10170081 Whirlpool Bearing29WP9703445 Whirlpool Bearing Kit Thrust30O RING31WP9709511 Whirlpool Microwave High Voltage Transformer329706036 Whirlpool Wire Assembly33WP9706247 Whirlpool Seal34W11664709 Whirlpool Groove Pin35Clip, Cord Retainer