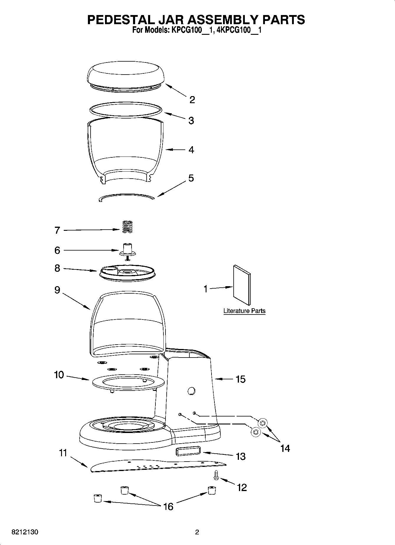
KPCG100OB1 01 – PEDESTAL JAR ASSEMBLY PARTSadmin2025-04-26T12:27:41+00:00KPCG100OB1 01 – PEDESTAL JAR ASSEMBLY PARTS ProductsPositionProduct1Use and Care Guide1Repair Parts List2Lid, Bean Jar34176731 Whirlpool Seal4Jar, Bean54176729 Whirlpool Seal Assembly6NOZZLE, HOLDER7SPRING, HOUSING84176721 Whirlpool Cover9WP4176728 Whirlpool Jar104176722 Whirlpool Ring Assembly11COVER, BASEPLATE12Screw13Nameplate144176713 Whirlpool Washer15Base Assembly (Incl Nameplate) (Nickel Pearl)15Base Assembly (Incl Nameplate) (Empire Red)15Base Assembly (Incl Nameplate) (Onyx Black)15Pedestal Assy (Incl Nameplate) (Pearl Metallic)16Foot, Rubber