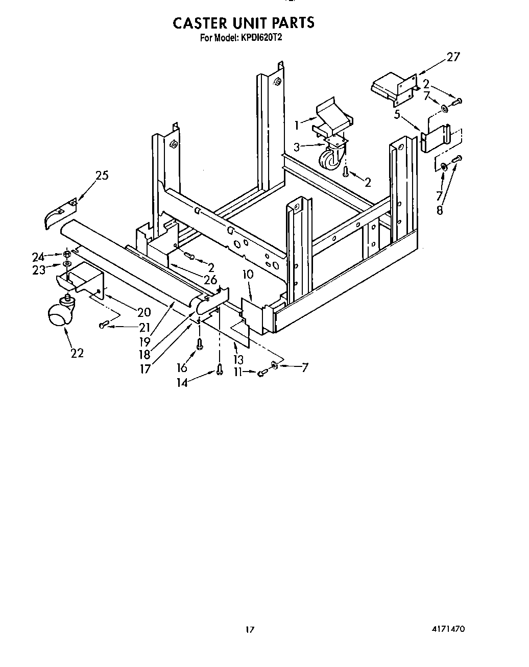
KPDI620T2 14 – CASTER UNITadmin2025-04-26T12:29:54+00:00KPDI620T2 14 – CASTER UNIT
Products
| Position | Product |
|---|
| 1 | Bracket, Rear Caster (L.H.) |
| 2 | WP693304 Whirlpool Screw |
| 3 | Caster, Rear (2) |
| 5 | Bracket, Side Panel Mounting (2) |
| 7 | Lock Washer No.10 Ext. Shake- proof |
| 8 | Screw, 10-16 X 5/16 |
| 10 | Support, Front Caster Bracket (R.H.) |
| 11 | Screw, 10-16 x 3/8 |
| 13 | Kickboard |
| 14 | Screw, 10-16 X 3/8 |
| 16 | Screw, 6-20 X 3/8 |
| 17 | Barrier, Front Panel |
| 18 | End Cap, Caster Trim (R.H.) |
| 19 | Trim, Front Caster |
| 20 | Bracket, Front Caster (2) |
| 21 | Screw, 10-16 X 1/2 (8) |
| 22 | Caster, Front (2) |
| 23 | Lockwasher (2) |
| 24 | Jam Nut (2) |
| 25 | End Cap, Caster Trim (L.H.) |
| 26 | Support, Front Caster Bracket (L.H.) |
| 27 | Bracket, Rear Caster (R.H.) |