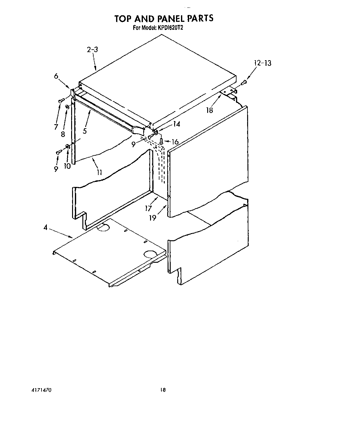
KPDI620T2 15 – TOP AND PANELadmin2025-04-26T12:29:03+00:00KPDI620T2 15 – TOP AND PANEL
Products
| Position | Product |
|---|
| 2 | Wood Top Kit |
| 3 | Screw, 10-13 X 3/4 |
| 4 | Plate, Sound Barrier |
| 5 | Bar, Guide |
| 6 | Endcap (Guide Bar) (L.H.) |
| 6 | Endcap (Guide Bar) (R.H.) |
| 7 | Screw, 10-13 X 3/4 (2) |
| 8 | Lock Washer No.10 Ext. Shake- proof |
| 9 | Trim, Tank (Screw, 10-16 X 1/2) |
| 11 | Side Panel (L.H.) (White) |
| 11 | Side Panel (L.H.) (Almond) |
| 12 | Screw, 10-16 X 5/16 |
| 13 | Washer (2) |
| 14 | WP9741251 Whirlpool Mounting Bracket |
| 16 | Screw, 10-13 X 3/4 (2) |
| 17 | Panel, Rear (Almond) |
| 17 | Panel, Rear (White) |
| 18 | Bracket, Rear Panel Anchor |
| 19 | Side Panel (R.H.) (White) |
| 19 | Side Panel (R.H.) (Almond) |