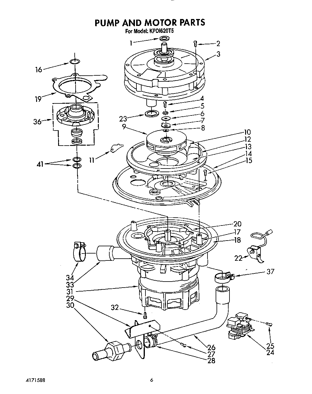
KPDI620T5 05 – PUMP AND MOTOR