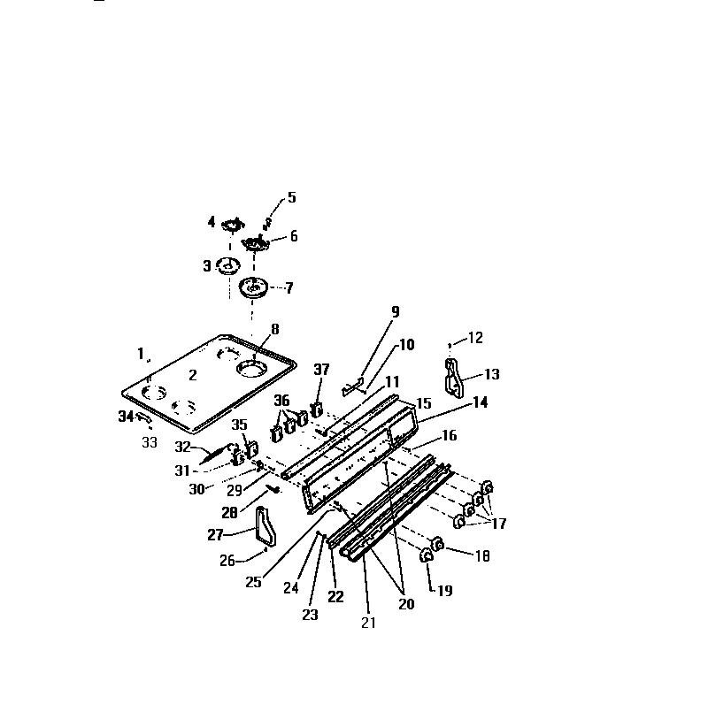
| 2 | WCI K1317550 |
| 3 | 316048414 Frigidaire Oven Range Chrome 6" Drip Bowl |
| 4 | 318372210 Frigidaire Oven Range 6" 1250W Surface Element |
| 5 | 5303935058 Frigidaire Oven Burner Receptacle Kit |
| 6 | 316442300 Frigidaire Oven 2100W Coil Element 8 |
| 7 | 316048413 Frigidaire Oven Range Chrome 8" Drip Bow |
| 8 | 5308014215 Frigidaire Oven Screw |
| 9 | WCI K1317218 |
| 9A | WCI K1316744 |
| 10 | 131243700 Frigidaire Screw |
| 13 | WCI K1316502 |
| 14 | WCI K5089501 |
| 15 | WCI K1316506 |
| 16 | SCREW |
| 17 | WCI K5088101 |
| 18 | WCI K5088107 |
| 19 | WCI K5088104 |
| 20 | LENS |
| 21 | WCI K1319752 |
| 22 | WCI K1324928 |
| 23 | WCI KGM9423534 |
| 25 | SCREW - THERMO BRACKET 6-32 X 3/16 (2) |
| 26 | WCI K1164566 |
| 27 | WCI K1316503 |
| 28 | PILOT LIGHT, OVEN, 250 V |
| 29 | SCREW |
| 30 | BRACKET |
| 31 | THERMOSTAT |
| 32 | WCI K1305350 |
| 33 | WCI K1164550 |
| 34 | WCI K1317482 |
| 35 | SWITCH SELEC. |
| 36 | 5303935086 Frigidaire Oven Top Burner Switch Kit |