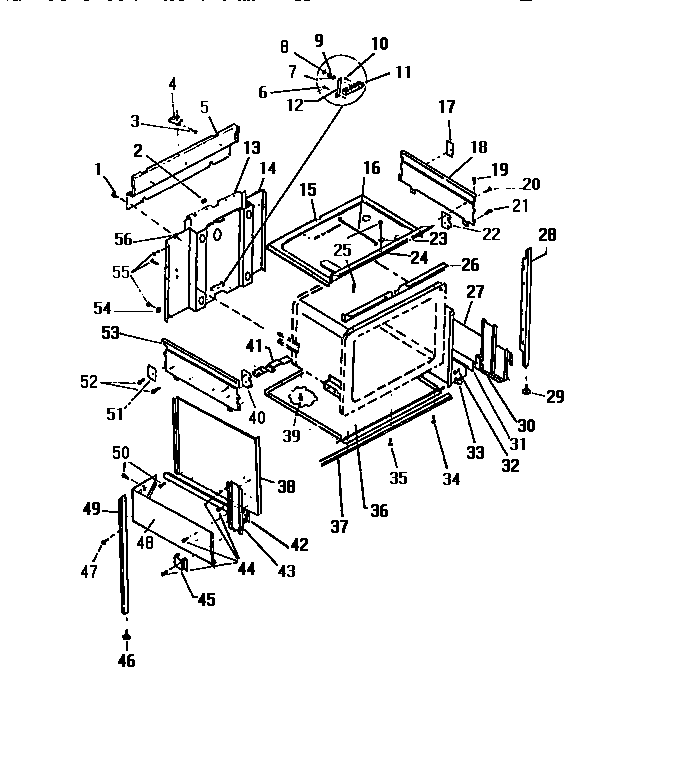
KS220GDF1 05 – PANELS