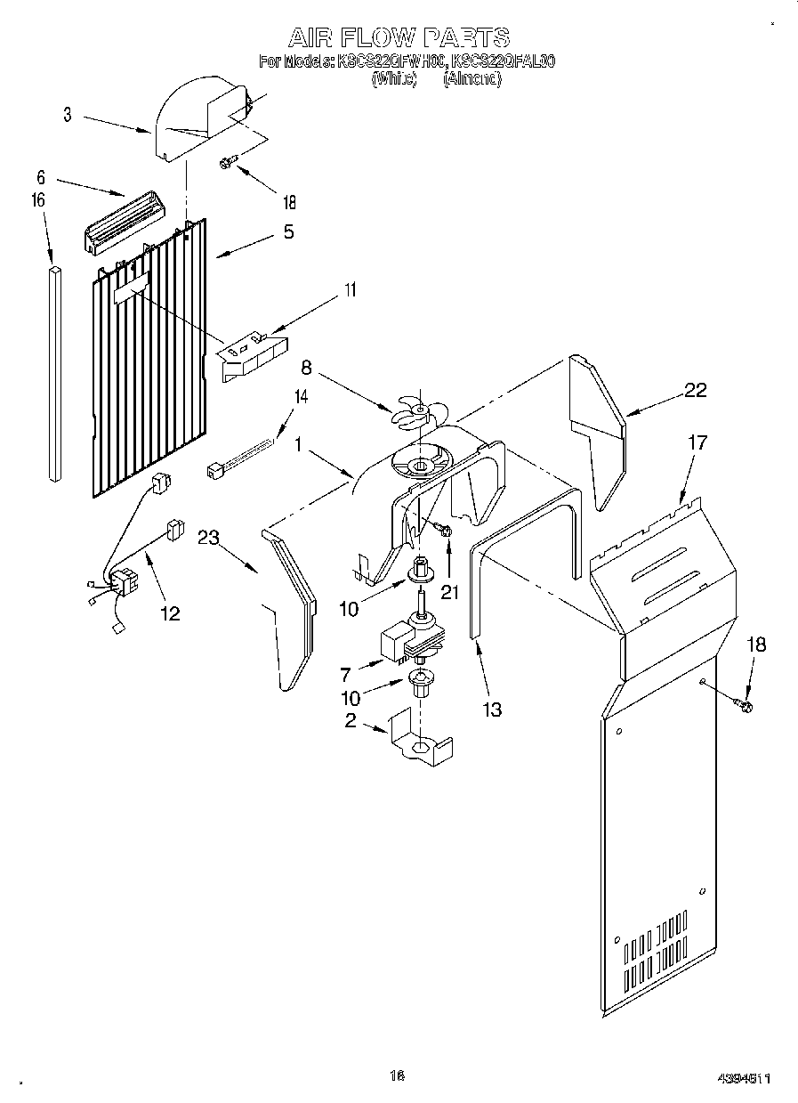
KSCS22QFAL00 11 – AIR FLOW