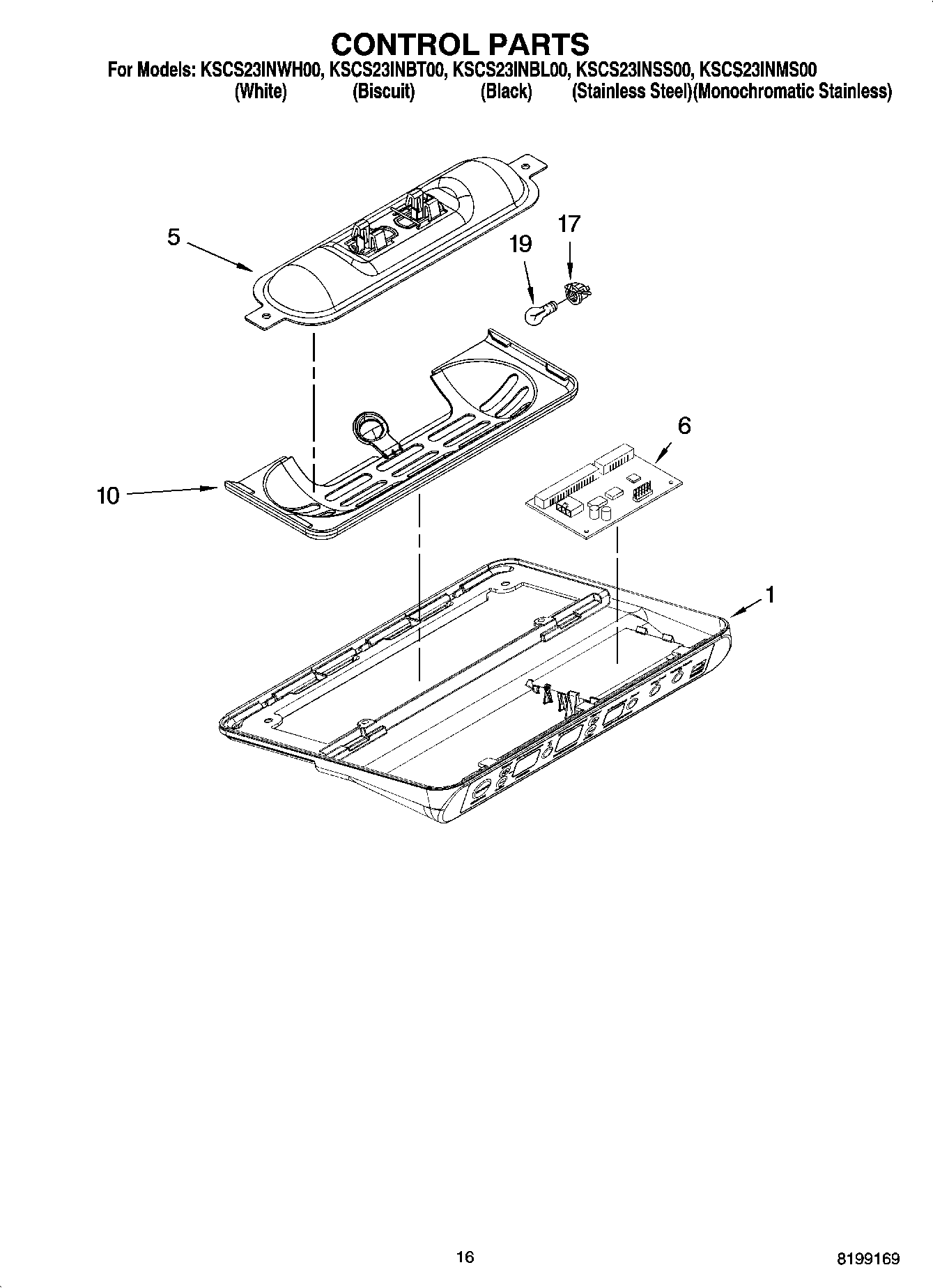
KSCS23INBL00 10 – CONTROL PARTSadmin2025-04-26T12:12:18+00:00KSCS23INBL00 10 – CONTROL PARTS ProductsPositionProduct1Control Box (Includes 6)52223680 Whirlpool Refrigerator Shield6Control Board Asm10WP2223506 Whirlpool Refrigerator Light Lens17WPW10191429 Whirlpool Refrigerator Socket19WPA3073101 Whirlpool Light Bulb