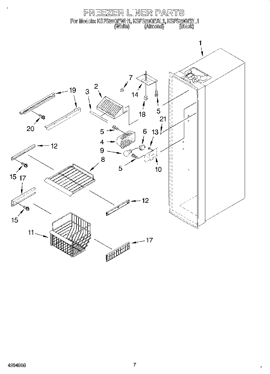
KSFS20QEBL1 04 – FREEZER LINERadmin2025-04-26T12:34:46+00:00KSFS20QEBL1 04 – FREEZER LINER ProductsPositionProduct1Liner (Not A Serviceable Part)2Top Shelf3Insert, Top Shelf4Light Lens5WP489464 Whirlpool Refrigerator Screw6Light Socket7Support, Stud (2)8Shelf (2)9W11679940 Whirlpool Refrigerator Light Bulb Assembly10Plate, Socket11Basket, Slope (2)12Shelf Track (Single) (Left Side)12Shelf Track (Single) (Right Side)13WPL 434368214Cover, Light Switch15WP98165 Whirlpool Screw17Shelf Track (Left Side (2))17Shelf Track (Right Side (2))18WP4387911 Whirlpool Refrigerator Switch19Slide, Ice Container (Right Side)1967005375 Whirlpool Refrigerator Glide, Freezer (Left)20Screw21WPL 4343657