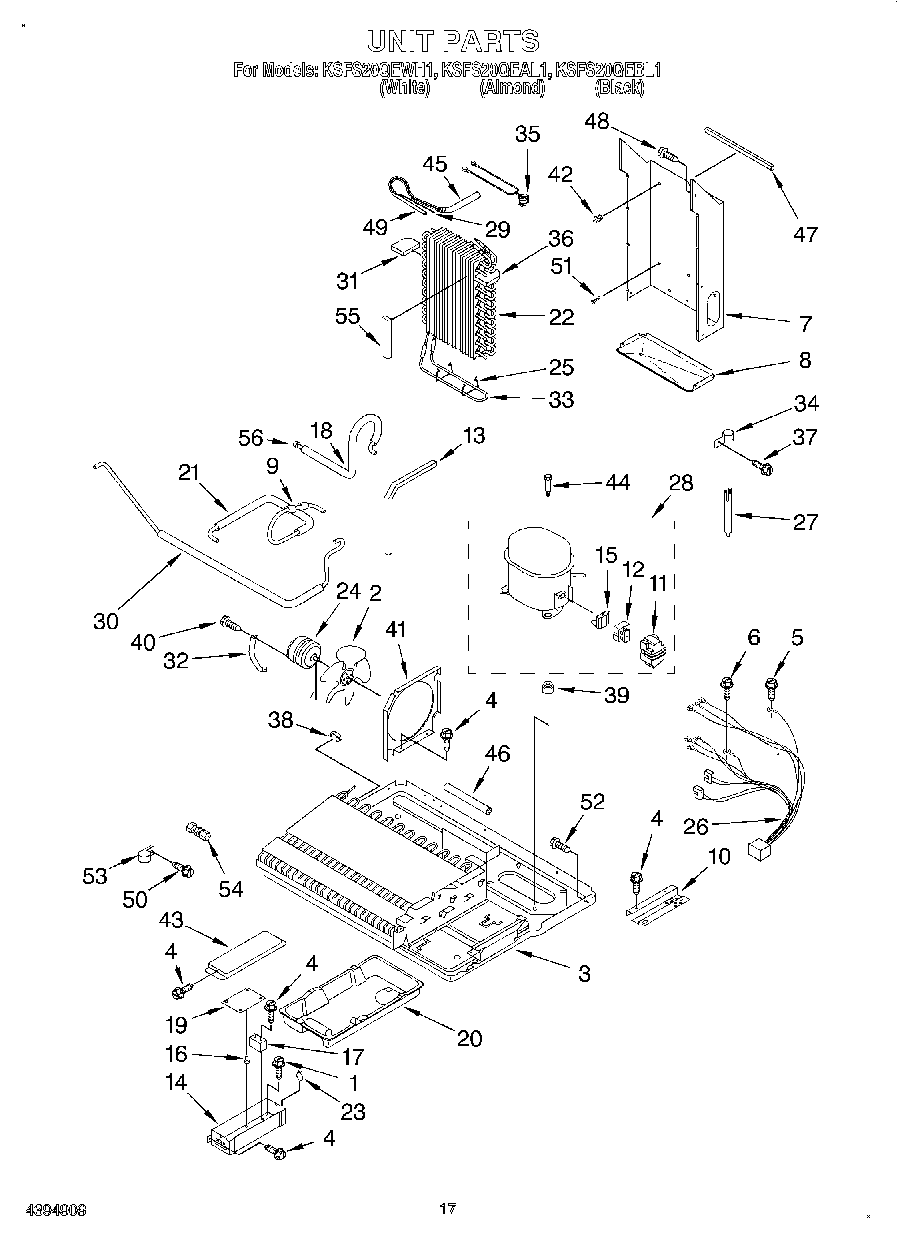
KSFS20QEBL1 10 – UNIT