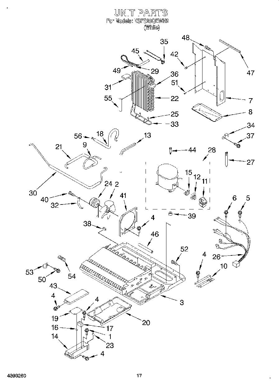
KSFS20QEWH2 10 – UNIT