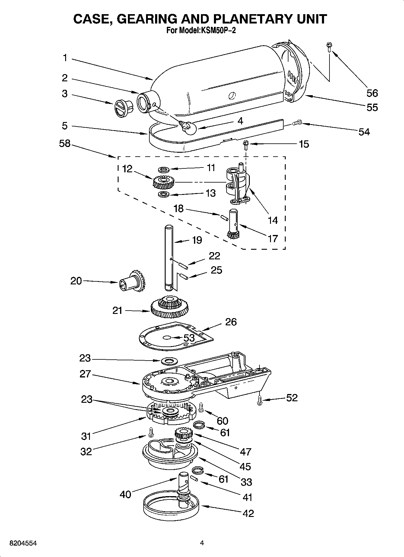
KSM50P-2 03 – CASE, GEARING AND PLANETARY UNITadmin2025-04-26T11:02:55+00:00KSM50P-2 03 – CASE, GEARING AND PLANETARY UNIT ProductsPositionProduct1Gearcase Motor Housing2WP16897 Whirlpool Bearing3Cap, Attachment Hub4WP9709194 Whirlpool Black Thumb Screw5Band, Trim12WPW10112253 Whirlpool Gear Assembly13WPW10323373 Whirlpool Washer14W11082541 Whirlpool Bearing15W11097298 Whirlpool Dishwasher Screw17Shaft & Pinion18WP9705444 Whirlpool Pin Groove19WP240026 Whirlpool Control Shaft20Gear, Attachment Hub Bevel (23T)21W11192794 Whirlpool HUB Gear23WPW10323378 Whirlpool Washer25WP9705443 Whirlpool Pin Groove26WP4162324 Whirlpool Case Gasket27Lower Gear Case31W11340106 Whirlpool Gear Assembly32Screw, Special (5)33Planetary40WP243368 Whirlpool Agitator Shaft41Pin (Vertical Center Shaft)42WP240285 Whirlpool Drip Ring45Washer, Shim (.015`` Thk.) (.031`` Thk.)47W11133645 Whirlpool Pinion Gear52WP3400025 Whirlpool Screw53O RING54WP313808 Whirlpool Screw55Cover, End56WP241877 Whirlpool Screw58GEAR, WORM AND BRACKET60WP9708653 Whirlpool Screw61WP9703438 Whirlpool Snap Retaining Ring