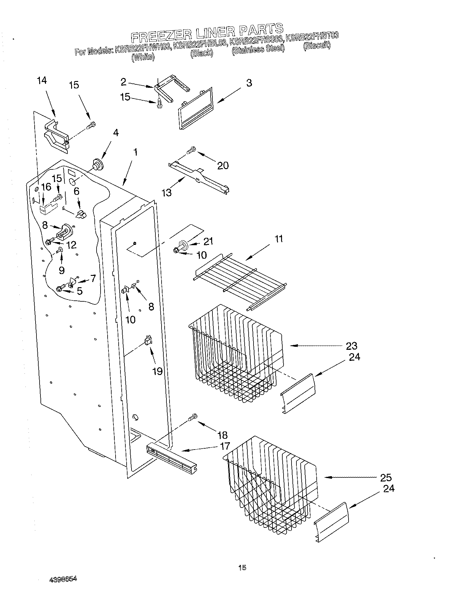
KSRB22FHBT03 09 – FREEZER LINER