KSRB22QABL00 06 – REFRIGERATOR DOORadmin2025-04-26T11:31:58+00:00KSRB22QABL00 06 – REFRIGERATOR DOOR
Products
| Position | Product |
|---|
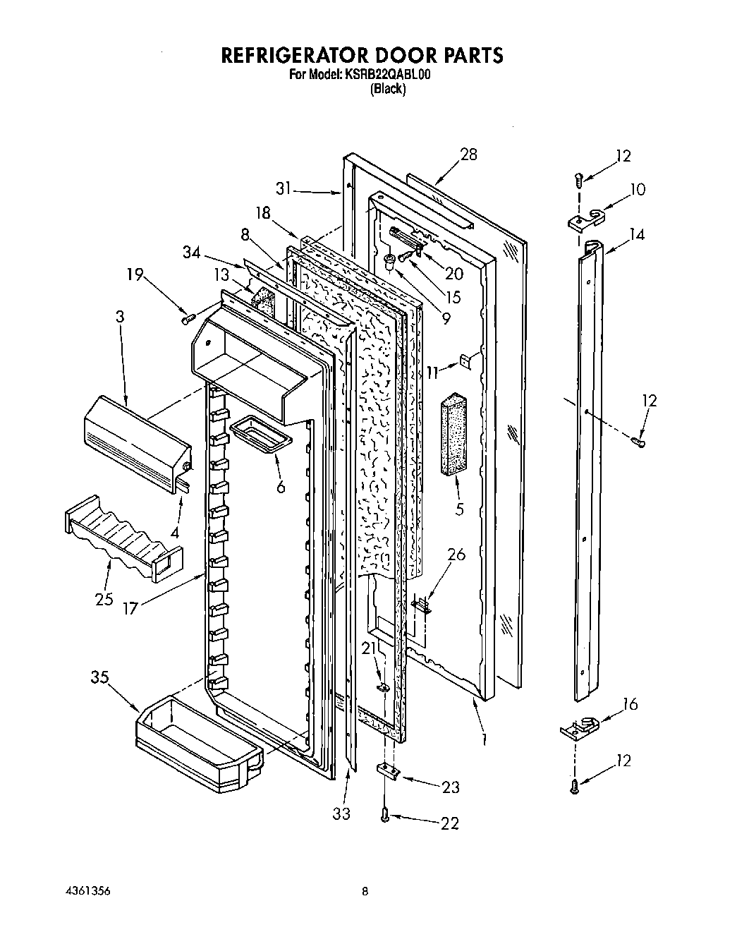
| 1 | Refrigerator Door (Also Order Item 18) |
| 3 | Compartment Door, |
| 4 | Gasket, Utility Door |
| 5 | Dike, Door Handle Side |
| 6 | Butter, Tray |
| 8 | 2188404A Whirlpool Refrigerator Door Gasket |
| 9 | Cap, Hinge Sleeve (2) |
| 10 | End Cap, Bottom |
| 11 | Screw Anchor (2) |
| 12 | Screw (10) |
| 13 | Dike, Door Hinge Side |
| 14 | Handle Assembly |
| 15 | WP488729 Whirlpool Refrigerator Door Screw |
| 16 | End Cap, Top |
| 17 | Panel, Interior Door |
| 18 | WPL 876029 |
| 20 | Door Closer, Upper Cam |
| 21 | WP1104787 Whirlpool Refrigerator Shim |
| 22 | WP489069 Whirlpool Compactor Screw |
| 23 | Bracket, Door Stop |
| 25 | WPL 1125981 |
| 26 | Tap Plate |
| 28 | Black Glass |
| 31 | Trim, Door |
| 33 | Retainer, Gasket |
| 34 | Gasket Retainer, Top & Bottom |
| 35 | Bin, Door Shelf Deep. Wide |