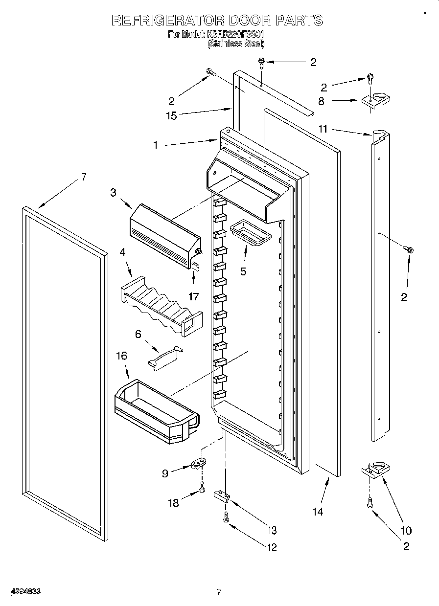
KSRB22QFSS01 05 – REFRIGERATOR DOORadmin2025-04-26T11:32:28+00:00KSRB22QFSS01 05 – REFRIGERATOR DOOR ProductsPositionProduct1Refrigerator Door (Includes No.7)2Screw3WP2313637 Whirlpool Cutting Grid Assembly4Beverage Holder5Butter Tray6Divider, Bin72159081 Whirlpool Refrigerator Door Gasket8End Cap, Top94318165 Whirlpool Refrigerator Door Closure Cam Kit10End Cap, Bottom11Handle12WP489483 Whirlpool Screw13Bracket, Door Stop (Chrome)14Panel (Stainless Steel)15Trim, Door16Bin, Door Shelf17Gasket, Door Compartment18WP3400012 Whirlpool Refrigerator Screw