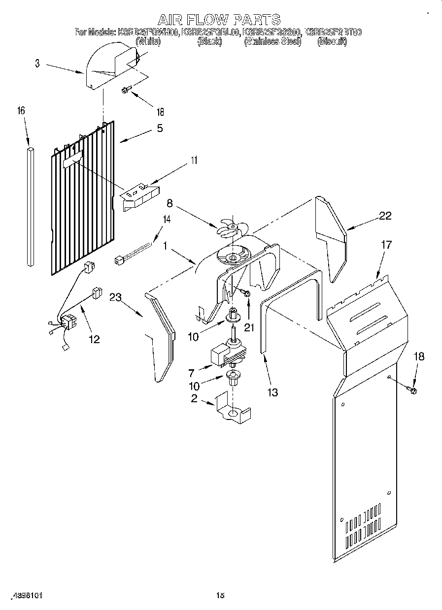
KSRB25FGWH00 09 – AIR FLOW