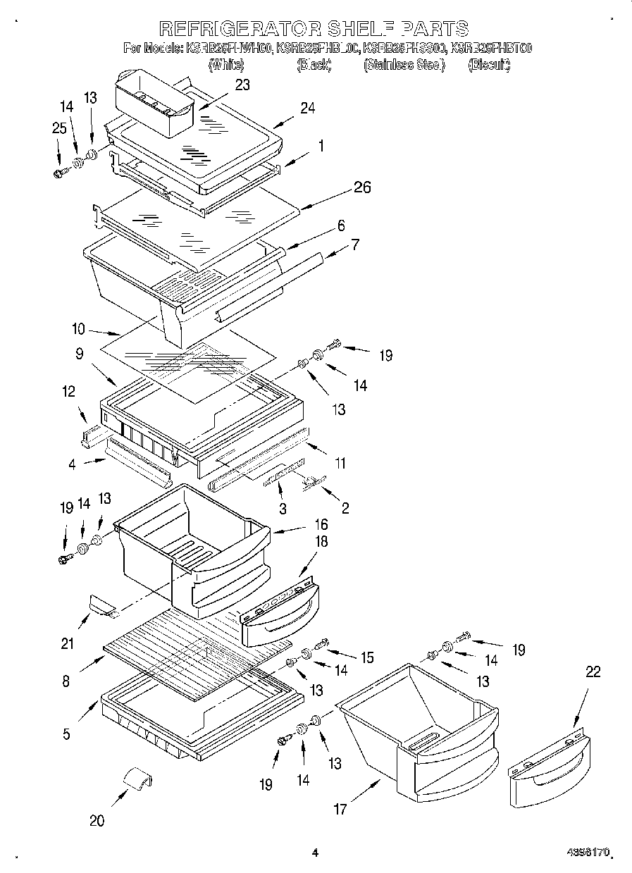
KSRB25FHBL00 03 – REFRIGERATOR SHELF