KSRB25FHBL01 03 – REFRIGERATOR SHELFadmin2025-04-26T11:29:46+00:00KSRB25FHBL01 03 – REFRIGERATOR SHELF
Products
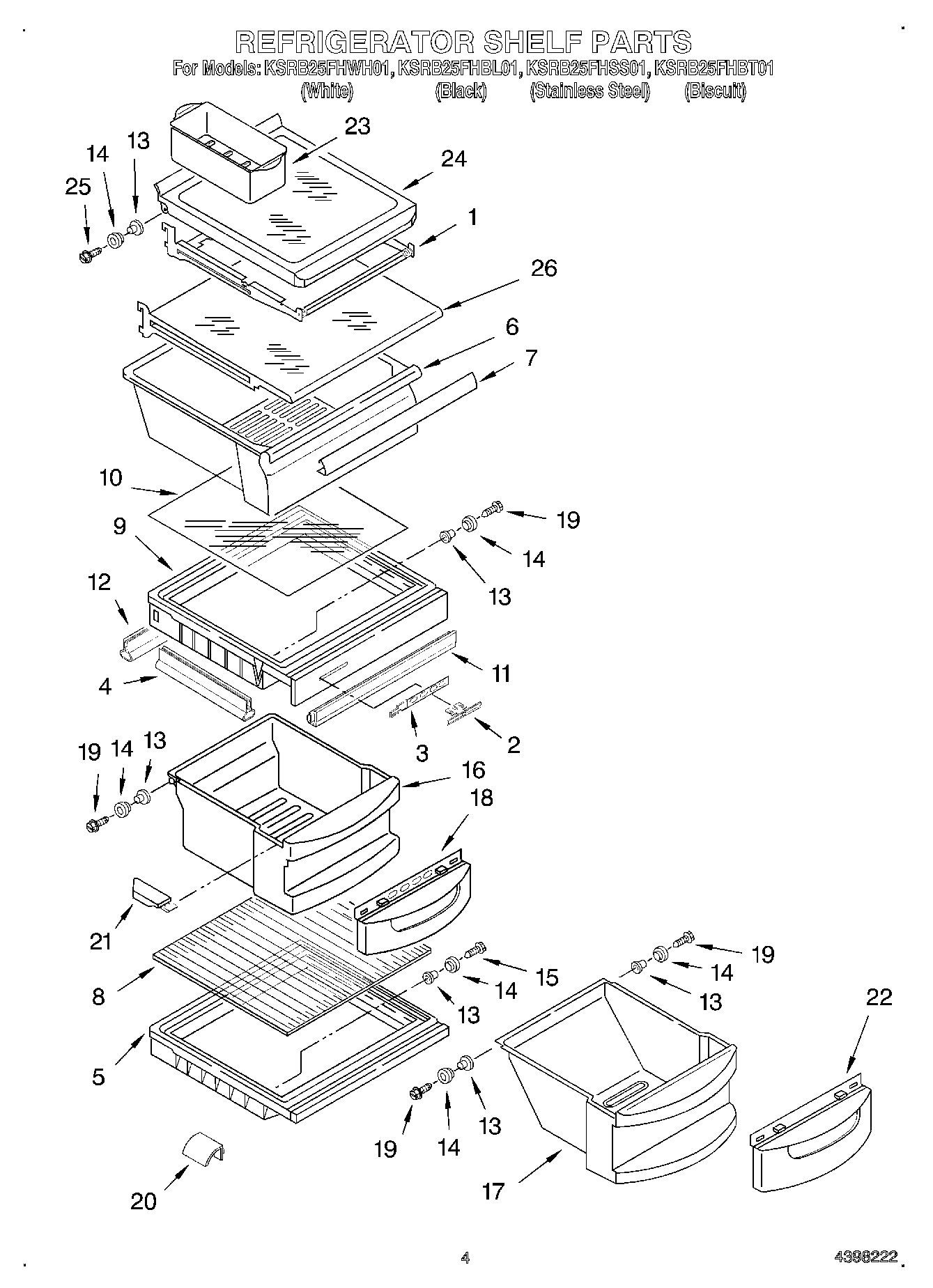
| Position | Product |
|---|
| 1 | Shelf Assembly, Cantilever |
| 2 | Button, Humidity Control |
| 3 | 2174252 Whirlpool Refrigerator Slide |
| 4 | Gasket, Side (2) |
| 5 | WP2161491 Whirlpool Crisper Drawer Cover |
| 6 | W11497323 Whirlpool Snack Pan |
| 7 | WP2179243 Whirlpool Refrigerator Pan Trim |
| 8 | Glass, Cover |
| 9 | Cover, Crisper (Includes 2, 3, 4, 11, 12, 13, 14, & 19) |
| 10 | Glass, Cover |
| 11 | WP1125528 Whirlpool Refrigerator Gasket |
| 12 | Gasket, (Rear) |
| 13 | Eyelet, Roller |
| 14 | Roller |
| 15 | WPW10272364 Whirlpool Refrigerator Screw |
| 16 | WP2179227 Whirlpool Refrigerator Crisper Pan |
| 17 | Meat Pan (Includes 13, 14, 19, & 22) |
| 18 | Window, Crisper |
| 19 | WP489261 Whirlpool Refrigerator Screw |
| 20 | 2176095 Whirlpool Refrigerator Deflector |
| 21 | Cap, Crisper (Left Side) |
| 21 | Cap, Crisper (Right Side) |
| 22 | Window, Meat Pan |
| 23 | W10136387A Whirlpool Refrigerator Egg Container |
| 24 | Shelf & Roller Assembly |
| 25 | Screw |
| 26 | Shelf, Snack Bin |