KSRB25FHBL02 06 – REFRIGERATOR DOORadmin2025-04-26T11:30:06+00:00KSRB25FHBL02 06 – REFRIGERATOR DOOR
Products
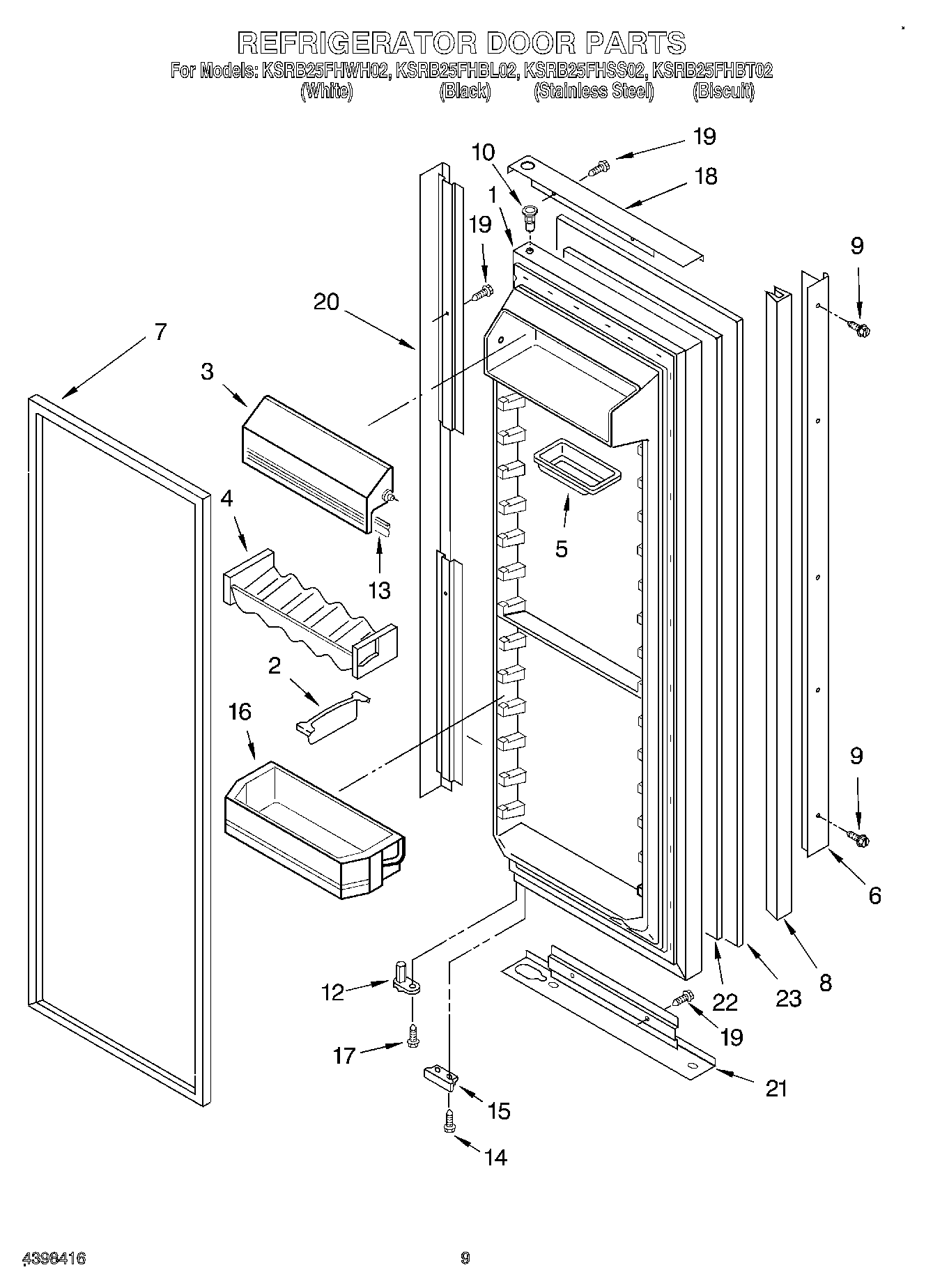
| Position | Product |
|---|
| 1 | Refrigerator Door (Includes No.7) (Black) |
| 1 | Refrigerator Door (Includes No.7) (Biscuit) |
| 1 | Refrigerator Door (Includes No.7) (White) |
| 2 | Divider, Bin |
| 3 | WP2313637 Whirlpool Cutting Grid Assembly |
| 4 | Beverage Holder |
| 5 | Butter Tray |
| 6 | Handle, Center |
| 6 | Handle (Black) |
| 6 | Handle (Biscuit) |
| 6 | Handle (White) |
| 7 | 2159083 Whirlpool Gasket Door |
| 7 | 2159075 Whirlpool Door Gasket Seal |
| 8 | Edging, Panel (Black) |
| 8 | Edging, Panel (Biscuit) |
| 8 | Edging, Panel (White) |
| 9 | Screw |
| 9 | Screw (Black) |
| 9 | Screw (Biscuit) |
| 9 | Screw (White) |
| 10 | WP2182181 Whirlpool Refrigerator Thimble |
| 12 | WP2182179 Whirlpool Cam Closer |
| 13 | Gasket, Door Compartment |
| 14 | WP489483 Whirlpool Screw |
| 15 | Bracket, Door Stop (Black) |
| 15 | Bracket, Door Stop (Chrome) |
| 16 | Bin, Door Shelf |
| 17 | WP3400012 Whirlpool Refrigerator Screw |
| 18 | Trim, Door (Top) (Black) |
| 18 | Trim, Door (Top) (Biscuit) |
| 18 | Trim, Door (Top) (White) |
| 18 | Trim, Door (Top) |
| 19 | WP3196557 Whirlpool Screw |
| 20 | Trim, Door (Side) |
| 20 | Trim, Door (Hinge Side) (Biscuit) |
| 20 | Trim, Door (Hinge Side) (Black) |
| 20 | Trim, Door (Hinge Side) (White) |
| 21 | Trim, Door (Bottom) |
| 21 | Trim, Door (Bottom) (Biscuit) |
| 21 | Trim, Door (Bottom) (White) |
| 21 | Trim, Door (Bottom) (Black) |
| 22 | Filler, Panel |
| 23 | Panel |
| 23 | Panel (Biscuit) |
| 23 | Panel (White) |
| 23 | Panel (Black) |