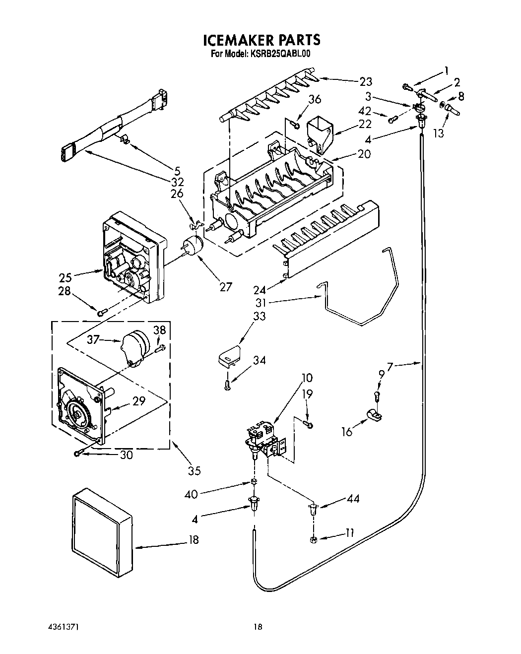
KSRB25QABL00 11 – ICEMAKERadmin2025-04-26T12:18:23+00:00KSRB25QABL00 11 – ICEMAKER ProductsPositionProduct2WP2196157 Whirlpool Fill Tube3WP488878 Whirlpool Refrigerator Tube Clamp44387491 Whirlpool Refrigerator Insert5WP628379 Whirlpool Refrigerator Clip7W10823511 Whirlpool Refrigerator Water Tube8WP1106508 Whirlpool Refrigerator Gasket9Screw, 8-15 x 1/2 (4)10W10853654 Whirlpool Water Inlet Valve11WP627018 Whirlpool Refrigerator Nut13Tube, Water Inlet16WP488366 Whirlpool Refrigerator Clamp18Cover19WPW10141625 Whirlpool Refrigerator Screw Assembly20WPW10190929 Whirlpool Refrigerator Ice Maker Mold22WP628356 Whirlpool Refrigerator Fill Cup23WP627843 Whirlpool Refrigerator Ejector Arm24WP2182124 Whirlpool Refrigerator Stripper Arm25WP2195914 Whirlpool Refrigerator Ice Maker Housing26WP2315522 Whirlpool Refrigerator Clip27WP627985 Whirlpool Icemaker Cycling Thermostat288533917 Whirlpool Refrigerator Screw30WP681249 Whirlpool Screw Assembly31W11342242 Whirlpool Refrigerator Ice Level Arm32WP2187464 Whirlpool Refrigerator Wire Harness33W11500948 Whirlpool Refrigerator Bracket34Screw, 8-32 x 27/6436WP488163 Whirlpool Refrigerator Screw37W10190935 Whirlpool Refrigerator Icemaker Motor Module Assembly38489136 Whirlpool Refrigerator Screw40Nut, Compression42WP488787 Whirlpool Refrigerator Screw44Insert, Tube1004317943 Whirlpool Refrigerator Ice Maker Assembly