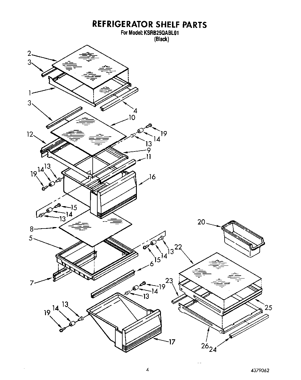
KSRB25QABL01 03 – REFRIGERATOR SHELF