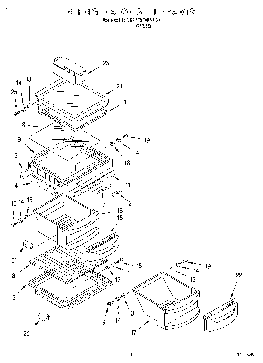
KSRB25QFBL00 03 – REFRIGERATOR SHELF